
作者 | 郑理、刘银平
编辑 | 付影
来源 | 独角金融
11月21日,广西壮族自治区纪委监委通报,广西投资集团有限公司(下称“广西投资集团”)副总经理黎敦满涉嫌严重违纪违法,正接受纪律审查和监察调查。
这一消息很快将总资产达2591.81亿元的柳州银行推上风口浪尖,因为黎郭满正是该行2019年至2021年期间的董事长。

而在他之前的两任董事长刘忠、李耀清,均已因腐败问题落马。这标志着短短十余年间,柳州银行三位董事长在权力交替中,将这家区域重要金融机构拖入违法放贷、权钱交易的泥潭。
从业绩方面来看,受信用减值损失大幅上升影响,在连续6年增长之后,2024年柳州银行归母净利润同比下降22.28%,不过得益于利息净收入、手续费及佣金净收入的增长,以及投资收益的爆发,上半年营收、净利实现双增长。
1
曾被寄予“救火队长”厚望,
黎敦满在任不到2年被查
黎敦满1971年出生,现年54岁,是柳州银行第三任董事长,他的职业生涯几乎全部扎根广西金融系统。
1991年7月,黎敦满参加工作。早年,他在中国银行柳州分行从业务股股长,一路升到桂林分行党委书记、行长,2016年转战地方金融平台,2017年3月出任柳州银行行长,2019年8月升任董事长兼任行长,直到2021年4月才不再兼任行长,由谢斌接任。
短短两年从行长火速升任董事长,黎敦满一度被寄予“救火队长”的厚望,外界期待他能整顿前两任留下的乱象,但这份期待随着官宣被查最终落空。
黎敦满在柳州银行任职期间,不仅未能建立有效的风险防控体系,反而延续“一把手”权力过于集中的问题,其在任一年半时间里,身兼董事长、行长、党委书记三职,权力缺乏有效监督和制衡,或为其违规操作提供了可乘之机。

图源:罐头图库
2021年7月,黎敦满调任广西投资集团副总经理,同年8月正式辞任柳州银行董事长。
离开后,他的仕途仍在上升通道,2023年4月,黎敦满升任广西金融投资集团党委书记、董事长,2025年7月,中央巡视组进驻广西金融系统,2025年9月突然被免职,彭湖接任董事及董事长职务。2个月后,黎敦满便被官宣接受调查。
就在黎敦满被查前,广西金融投资集团原党委书记、董事长蒙坤伟涉嫌严重违纪违法被广西壮族自治区纪委监委纪律审查和监察调查。
黎敦满在任期间的2019–2021年,该行净利润由3.12亿元升至6.72亿元。
2
“元老级”掌舵人刘忠:
违法放贷68.7亿
柳州银行成立于1997年3月,成立28年来经历了“一整合”和“两更名”。
成立之初,该行由8家城市信用合作社和柳州城市信用合作社联合社整合成立柳州城市合作银行。1998年5月更名为柳州市商业银行;2010年6月更名为柳州银行。柳州银行是由地方财政和企业法人发起设立的一家具有独立法人资格的股份制商业银行,柳州国有股权占比达92.56%,为柳州市龙头企业。
作为柳州银行“元老级”董事长刘忠,1964年出生,在金融系统深耕数十年。
2005年10月,他出任柳州市商业银行党组书记、董事长,2010年银行更名为柳州银行后继续留任“一把手”,直到2013年5月调任广西金融投资集团担任副总经理。
法院审理查明,刘忠集中体现在两大罪名上,包括巨额受贿和违法发放贷款。
2007年至2013年期间,他利用职务便利,为广西中美天元融资性担保集团有限公司(下称“中美天元集团”)及其法定代表人吴东等多个主体提供帮助,在贷款审批、入股银行、网点装修承揽等方面一路开绿灯,累计收受财物折合人民币1307.73万元,其中920.23万元未遂。

图源:罐头图库
更严重的是,刘忠违反了《商业银行法》,为向中美天元集团输送利益,主导将该集团旗下公司拆分为多个单一主体,以此规避银监部门的授信集中度监管。
在他的直接签发下,柳州银行向中美天元集团旗下北海新特药药业有限公司、南宁市正晨石化有限公司等16家公司发放贷款66笔,票面金额共计95.52亿元,实际敞口高达68.75亿元。
2013年5月,刘忠看似平稳的调离柳州银行,却在2016年4月被免去广西金融投资集团副总经理,当年9月被查,职业生涯被按下暂停键。
2017年12月,柳州市中级人民法院作出一审判决,认定刘忠犯受贿罪、违法发放贷款罪,两罪并罚判处有期徒刑16年,并处罚金110万元。
刘忠的落马,也首次揭开了彼时银行内部治理的漏洞,贷款审批成为利益交换的工具,为后续腐败埋下隐患。
3
李耀清:从“遇刺清官”到“违纪违法”
刘忠之后,1962年出生的李耀清,于2013年11月调任柳州银行,2014年1月正式出任董事长。与刘忠的不同,李耀清一度以“清廉”形象示人,却因一场离奇的遇刺案,意外撕开了伪装的面纱。
这还要从他被砍为重伤说起。
2014年5月10日15时许,李耀清步行前往小区外路边摊时,突遭两名持刀男子袭击。凶手手持20厘米长砍刀猛砍3刀后乘车逃离,李耀清失血高达3500毫升,经鉴定为重伤二级。
这起震惊全国金融圈的暴力事件,背后原因很快查明。
案发前一个月,中美天元集团实控人吴东曾向李耀清行贿100万元现金被拒收,该集团担心李耀清整顿违规贷款业务,试图通过恐吓阻止。尽管法院最终认定吴东未直接参与刺杀,但这场血案也牵出建国以来最大的银行骗贷案——420亿元的涉案总金额一度震惊业内。
2018年11月,骗贷案一审宣判,吴东因犯骗取贷款、票据承兑、金融票证罪及单位行贿罪,被判处有期徒刑10年6个月,并处罚金2亿元;刺杀李耀清的行凶者,主谋是吴东的三个儿子,实施者为吴浩等人雇佣的4名杀手,最终以故意伤害罪获刑4年至5年6个月不等。
李耀清因“拒收贿赂遭报复”一度获得舆论同情,被视为扭转柳州银行乱象的希望。
但现实并非如此,他任职的2014年至2019年,内部治理并未得到明显改善。

图源:罐头图库
2019年5月15日,因“工作变动”为由,李耀清辞任董事长。令人意外的是,2021年5月27日,广西纪检监察网发布通报,李耀清涉嫌严重违纪违法接受审查调查。同年7月,他被开除党籍、公职。
通报指出,李耀清违反中央八项规定精神和廉洁纪律,接受可能影响公正执行公务的宴请,违反生活纪律;利用职权在业务审批、股份认购、工程承揽等方面为他人谋取利益,非法收受巨额财物。
2021年8月,检察机关以受贿罪对李耀清提起公诉。从“遇刺清官”到“落马贪官”,李耀清不仅未能清理前任留下的业务隐患,反而自身也陷入权钱交易泥潭。
截至目前,公开信息中尚未披露李耀清的最终判决结果。
而柳州银行控股的广西融水柳银村镇银行原董事长邹晓祥、原行长梁晓军,早在2020年因受贿、违规放贷被“双开”并移送司法。
经历了一审、二审后,最终法院审理认为,邹晓祥身为国家工作人员,利用其职务上的便利为他人谋取利益,收受他人财物82.78万元,其行为构成受贿罪,且数额巨大;邹晓祥身为广西融水柳银村镇银行董事长,在发放贷款过程中,违反国家规定发放贷款2435万元,数额特别巨大,其是对此直接负责的主管人员,构成违法发放贷款罪。邹晓祥一人犯数罪,依法应数罪并罚。决定执行有期徒刑8年,并处罚金人民币30万元。

图源:裁判文书网
梁晓军因无视中央八项规定精神,接受管理服务对象的旅游安排;把贷款审批权力作为谋取个人利益的筹码,利用职务之便为他人谋利,收受他人财物133.68万及别克小轿车一辆,构成职务违法并涉嫌犯罪,数罪并罚。二审决定对梁晓军执行有期徒刑7年6个月,并处罚金人民币33万元。

图源:裁判文书网
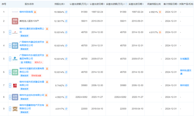
除此之外,根据天眼查信息,柳州银行第五大股东广西柳州市东城投资开发集团有限公司、第六大股东柳州市龙建投资发展有限责任公司,分别被列为被执行人、被限制高消费。

图源:天眼查
柳州银行的案例并非个例,近年来,地方城商行因“一把手”违规放贷等引发的风险事件并不少见,这类银行作为区域金融主力军,承担着支持中小企业和地方经济发展的重要使命,但部分机构由于股权结构复杂,治理机制不健全、外部监管存在盲区,给银行发展带来潜在风险。
4
营收稳健增长,
信用减值损失上升侵蚀利润
柳州银行作为区域性银行,立足广西柳州,客户基础良好,存贷款市场份额占据当地首位,股权结构较为稳定,依靠地方国资股东背景,结合区域信贷需求和自身业务特点寻求发展,存贷款规模实现多年稳健增长,在当地有较大竞争力。
在市场复杂多变、金融市场利率持续走低的情况下,今年以来柳州银行资产、业绩呈现增长态势,展现出较强的战略执行能力与内生增长动力。截至三季度末,总资产2591.81亿元,较去年末增长6.81%,前三季度营业收入34.01亿元,同比增长6.73%。
三季报披露的信息有限,从上半年报来看,营收稳健增长,作为收入支柱的利息净收入起到关键作用。上半年利息净收入19.11亿元,同比增长5.68%,在存款规模持续增长的情况下,利息支出还能同比下降16.61%,成本控制成效显著,彰显了良好的负债管理能力,尤其是公司活期存款规模及占比持续增长,推动整体存款成本下降。

图源:罐头图库
但是也不能忽视,成本偏高的个人定期存款规模在2022-2024年间同样维持较高增速,2024年末占存款总规模的比例在30%以上,是占比最高的一类存款,对整体存款成本构成一定压力,过去几年利息支出持续增长,2024年利息净收入创下近年来最大降幅,同比下降9.98%。
从资产端来看,尽管贷款规模维持增长态势,但规模增速已连续四年下降,贷款利率持续下行背景下,上半年利息收入46.33亿元,同比下降8.66%。息差压力仍然不小,上半年柳州银行净息差1.61%,较去年末下降0.04个百分点。当然,这也是整个银行业所面临的问题。
近两年,柳州银行在投资收益方面交出一份亮眼的成绩单。在2023年之前,投资收益从未超过1.5亿元,2024年激增至6.09亿元,较上一年翻了25倍左右,通过卖出部分国债及政策性金融债实现收益大幅增长。在交易性金融资产中,公募基金配置金额较高,均为债券基金和货币基金。

来源:柳州银行2024年年报
2025年上半年,投资收益为2.76亿元,维持在较高水平,较去年同期翻了近6倍,进一步推动总营收增长。
近年来,商业银行加大风险处置力度,叠加政策方面的支持,不良贷款率整体下降幅度较为明显。柳州银行同样如此,通过核销、转让、现金清收等多种方式加大不良资产处置力度,实现了资产质量整体平稳可控。
上半年末不良率1.57%,较去年末下降0.11个百分点,自2021年以来连续五年下降,拨备覆盖率也由200%以上降至160%左右。
从贷款结构来看,2024年末抵押贷款规模由27.7%降至21.63%,质押贷款规模由10.14%降至5.86%,与此同时,保证贷款和信用贷款规模占比均上升,虽然符合政策鼓励方向,但对银行的风险识别与管控能力提出了更高要求。

来源:柳州银行2024年年报
由于房地产行业不景气,近年来各大银行房地产贷款不良率也处在较高水平,通过持续压降房地产贷款规模来控制贷款质量。2024年末,柳州银行房地产业关注类贷款占比17.8%,不良率为9.82%,较上一年上升0.48个百分点,仍处在较高水平。不过房地产业贷款规模占比由2023年的4.23%降至3.64%,资产质量整体可控。
值得注意的是,2024年利息净收入、手续费及佣金净收入、投资收益均同比增长,进而推动总营收稳健增长的同时,归母净利润却同比下降22.28%至7.48亿元,连续六年高增长后首次迎来下降,背后是信用减值损失的大幅增长。
2024年柳州银行信用减值损失16.7亿元,同比增长45.77%,以贷款减值损失为主,以坏账损失和债权投资信用减值损失为辅。受经济环境影响,小微企业偿债能力下降,为应对资产质量下行压力需加大力度计提贷款减值准备。信用减值损失的上升,直接侵蚀利润。
2025年上半年信用减值损失11.8亿元,同比增长45.77%,由于各项主营收入实现增长,归母净利润实现18.94%增长,达到3.39亿元。

来源:柳州银行2025年上半年报告
整体来看,近两年柳州银行信用减值损失大幅上升,叠加市场利率持续下行带来的息差收窄压力,共同对盈利水平造成了负面影响。不过由于负债端成本控制良好,存贷款规模稳健增长,利息净收入实现增长,投资收益更是表现亮眼,成为拉动业绩增长的核心驱动力,共同推动今年上半年营收、净利双增长。
同时,柳州银行关联交易及客户集中度指标亟待压降。根据联合资信评级发布的柳州银行2025年跟踪评级报告显示,截至2024年末,柳州银行单一最大关联方授信余额、最大集团关联方授信余额和全部关联方授信余额占资本净额的比重分别为7.49%、18.63%和 48.93%,关联方贷款无逾期及不良情况,但需关注关联交易指标后续压降情况。

图源:联合资信评级
此外,该行2024年因贷款贷前调查失职、贷后管理不到位等问题受到处罚,风险管理及内控有待进一步提升。
过去十余年,柳州银行三任董事长相继发生违法放贷、权钱交易等内部失控行为,若内部控制机制长期薄弱、高层治理问题屡禁不止,其所累积的资产质量风险、监管合规成本与市场信誉损伤,终将反噬至业绩层面。