
文|恒心
来源|博望财经
近日,阿维塔正式向港交所递交主板上市申请,联席保荐人为中信证券与中金公司。
这家由长安汽车、华为、宁德时代三大巨头联合打造的高端智能电动汽车品牌,开启了资本市场的征程。
作为首家向港交所提交上市申请的央企旗下新能源车企,阿维塔的IPO引发市场高度关注。
2023年至2025年上半年,阿维塔的业绩呈现“冰火两重天”:一边是营收呈现爆发式增长,另一边是高速扩张的背后是持续扩大的亏损。
01
三巨头赋能模式:资源协同优势与盈利困境
阿维塔独特的“CHN”合作模式成为中国新能源汽车产业发展的创新尝试。
长安汽车、宁德时代与华为三方分别从整车研发制造、电池技术与智能汽车解决方案领域为阿维塔提供全方位支持,形成了“传统车企+电池巨头+科技巨头”的黄金三角组合。
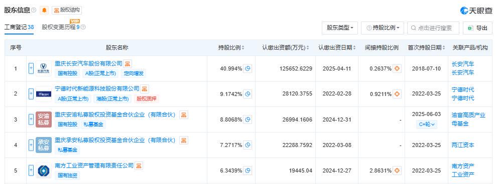
天眼查数据显示,股权结构上,长安汽车作为控股股东,负责整车制造与供应链管理;宁德时代是核心电池供应商;华为虽未直接持股,但通过战略合作提供智能化技术。

这种深度绑定在资本层面也得到了体现——阿维塔以总对价115亿元收购了华为旗下的引望公司10%股权。
在资源整合的支持下,阿维塔实现了快速产品布局,已推出阿维塔11、12、07、06四款主要量产车型,覆盖20万至70万元价格区间。
销量方面呈现高速增长态势,从2023年的2.7万辆增长至2024年的6.15万辆,2025年前10个月实现了连续8个月销量超1万辆的突破。
财务数据同样显示出积极的信号。阿维塔的毛利率从2023年的-3%成功转正至2024年的6.3%,并在2025年上半年进一步提升至10.1%,表明单车盈利能力正在改善。规模效应带来的成本摊薄以及高端车型占比提升是毛利率改善的主要原因。
高速增长的背后也有令人担忧的地方,阿维塔整体仍处于深度亏损状态。2022年至2024年,阿维塔年内亏损分别达到20.15亿元、36.93亿元和40.18亿元,三年累计亏损近百亿,且亏损额在持续扩大。2025年上半年再亏损15.85亿元,使得累计亏损突破110亿元大关。

这一现象揭示了新能源汽车行业的普遍困境:即使有巨头加持和营收增长,企业仍难以在短期内实现盈利。高昂的研发投入和销售费用是侵蚀利润的主因。2024年阿维塔研发支出达到12.14亿元,销售及营销开支更是高达30.36亿元。
阿维塔的财务状况也令人担忧。截至2025年6月30日,阿维塔资产负债率攀升至76%,流动比率仅为0.76,速动比率0.69,均低于行业安全水平。流动负债高达219.47亿元,而流动资产仅为167.05亿元,短期偿债能力显著承压。

尽管阿维塔已完成多轮融资,累计募资超过190亿元,但巨额亏损仍然使资金链面临严峻考验。此次赴港上市,无疑是其在自身造血能力不足情况下的重要融资选择。
02
华为深度合作的利与弊:技术赋能与品牌独立性的平衡
阿维塔与华为的合作关系是其发展战略中最受关注的核心要素。
在自身现金流紧张的情况下,阿维塔仍以115亿元的总对价收购引望10%的股权,创下了汽车行业战略合作的纪录。引望作为华为旗下的智能汽车解决方案公司,承载着华为在智能汽车领域的技术积累。通过这笔投资,体现了双方深度绑定的决心。

据《华夏时报》报道,从合作模式看,双方已从最初的HI模式升级为HI PLUS联合共创模式。这种升级意味着合作本质发生了根本性变化,从单纯的技术采购关系,演进为共同研发、共同定义产品的深度合作。华为的参与范围已扩展到用户洞察、产品定义、产品开发、整合营销、团队共建等全领域,这种深度绑定在一定程度上解释了阿维塔研发费用持续高企的原因。在产品层面,阿维塔全系标配华为乾崑ADS 4.0智能驾驶系统,成为行业首个将高阶智驾全面下放的品牌。这种“技术优先权”确实构成了阿维塔的核心竞争力。

从财务角度分析,这种深度合作确实带来了一些积极影响。
在研发效率方面,借助华为的技术积累,阿维塔得以快速推出具备竞争力的智能驾驶功能,节省了部分自主研发的时间和成本。在生产成本方面,联合采购和平台化开发带来了一定的规模效应。然而,这些优势的代价是需要向华为支付可观的技术服务费用,这直接影响了阿维塔的盈利能力。
值得一提的是,这种深度依赖也带来了技术路线主导权的让渡,阿维塔在产品定义和技术选择上的自主空间受到明显限制。更值得关注的是品牌认知问题,部分消费者将阿维塔视为“华为汽车”而非独立的汽车品牌。
这种认知虽然在短期内有助于提升销量,但长期来看将削弱阿维塔的品牌价值独立性和溢价能力。
随着华为智能汽车解决方案“朋友圈”的持续扩大,阿维塔在华为体系内的独特性正在被稀释。华为与赛力斯合作的问界品牌、与奇瑞合作的智界品牌等,都在不同程度上与阿维塔形成竞争关系。特别是在30万元左右的主力价格区间,这些品牌的产品存在明显的市场重叠,直接影响了阿维塔的市场定位。
03
港股上市战略考量:全球化布局与自我造血的关键一步
阿维塔选择赴港上市是其发展战略中的重要一环,既是在华为赋能基础上的必然选择,也是在激烈行业竞争下的生存之道。

据招股书显示,阿维塔募集资金将主要用于产品开发、平台和技术开发、品牌建设、销售服务网络建设,以及补充运营资金,以增强核心竞争力。
从行业层面看,2025年上半年中国新能源乘用车零售渗透率首次突破50%大关,标志着中国汽车市场进入新能源主导新纪元。然而与市场繁荣形成对比的是行业盈利能力普遍不足。阿维塔虽然在华为技术赋能下实现产品差异化,仍难摆脱行业盈利困境。
阿维塔此时启动IPO,一方面可以借助资本市场力量加速扩张,另一方面也能在行业洗牌期巩固市场地位。
阿维塔的上市也具有深远的战略意义。根据阿维塔新的发展目标,到2027年,实现全球年销量40万辆,年收入达到千亿元;至2030年,全球年销量提升至80万辆;到2035年,阿维塔将挑战150万辆的全球销量。这一宏伟目标与当前销量相比存在着巨大差距,也凸显了阿维塔对未来发展的强烈期待。
在国际化战略方面,阿维塔计划加速出海步伐,到2030年进入超80个国家和地区,布局超700个销售渠道。未来,海外市场将成为阿维塔发展的关键“第二战场”,而港股上市将为其国际化战略提供更为便捷的资本平台。
总结
阿维塔上市进程恰逢中国新能源乘用车零售渗透率在2025年上半年首次突破50%的历史性时刻。资本市场的表现将检验阿维塔是否能在享受华为赋能红利的同时,建立起自主核心竞争力。
随着全新产品的持续推出,以及海外市场目标的稳步推进,阿维塔的全球化战略将逐步接受市场检验。
此次港股上市不仅是为业务扩张融资,更是检验“CHN”模式能否成为新能源汽车产业可持续发展典范的关键一役。至于结局如何,博望财经将持续关注。