本文来源:时代周报 作者:刘子琪

来源:图虫
低利率时代,银行理财市场规模呈现增长趋势。
银行业理财登记托管中心发布的《中国银行业理财市场季度报告(2025年三季度)》显示,截至今年三季度末,全市场共存续产品4.39万只,同比增加10.01%;存续规模32.13万亿元,同比增加9.42%。
其中,理财公司存续产品只数3.06万只,存续规模29.28万亿元,同比增加15.26%,占全市场的比例达到91.13%。
在存续产品及规模日益增长下,12月3日,光大理财发布多个理财产品发行公告,其中产品类型多为固收类,业绩比较基准(年化)在1.60%-3.30%之间。
截至2025年6月末,光大理财管理资产总规模为1.79万亿元,较年初增长13.51%,成为继招银理财、兴银理财、信银理财后,又一超越国有大行理财子公司的股份制银行理财子公司。
关于上述相关事宜,时代周报记者联系了光大理财,截至发稿暂未收到回复。
2只权益类产品跌破面值1
据光大理财官网,该公司理财产品体系分为权益类、混合类、固定收益类、现金管理类、另类资产及衍生品策略类、私募股权类、项目融资类七大类一级产品体系。
此次新发行的产品多为固定收益类,募集规模最高产品为阳光金丰利增强目标盈5期,募集金额为11亿元,业绩比较基准(年化)为2.30%-3.30%。其中,募集规模最低产品为阳光金创盈乐享日开3号(90天最低持有),募集金额为300万元,业绩比较基准(年化)为1.70%-2.30%。
时代周报记者以阳光金丰利增强目标盈为例,查询了前4期产品的募集金额,1期-4期所募集到的金额分别为6480.91万元、2.61亿元、13.64亿元、3.89亿元。从收益率来看,截至目前,阳光金丰利增强目标盈1期-5期成立以来涨幅分别为2.08%、0.21%、0.05%、1.02%、0.04%。
此外,光大理财还发行一款阳光橙产品——阳光橙慧盈日开3号(90天最低持有),募集规模为5000万元,业绩比较基准(年化)为1.70%-2.30%。
值得注意的是,在当前低利率市场环境下,单纯依靠固收类产品所获取的收益有限,理财公司投资策略正向权益类资产倾斜。
光大理财亦有此打算。据光大说理财公众号4月份发布的消息,光大理财坚定看好中国资本市场发展前景和中国经济的未来,在有效管控风险的基础上,逐步加大在资本市场领域的布局。
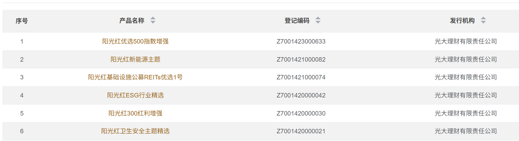
据中国理财网数据,截至目前,光大理财旗下共有6只权益类产品,分别为阳光红优选500指数增强、阳光红新能源主题、阳光红基础设施公募REITs优选1号、阳光红ESG行业精选、阳光红300红利增强、阳光红卫生安全主题精选。

来源:中国理财网
从净值表现来看,上述6只权益产品中,仍有2只产品跌破面值1,分别是阳光红卫生安全主题精选、阳光红新能源主题。其中,阳光红卫生安全主题精选单位净值跌破0.5,最新净值报0.4523。
阳光红卫生安全主题精选成立于2020年5月,至今已运作超5年。2023年7月6日,该产品单位累计净值就已经首次跌破0.5,至0.4987,并在今年4月份达到0.3818的历史新低,随后有所增长,目前最新净值报0.4523。
从收益来看,阳光红卫生安全主题精选成立以来已跌去54.77%,2021年-2024年的年化收益率分别为-18.55%、-31.62%、-20.30%、-17.34%。不过,2025年年化收益率为正,为12.54%。
另外一只产品阳光红新能源主题成立于2022年,2023年、2024年的年化收益率分别为-35.64%、19.66%,今年来年化收益率为-1.97%。
博通咨询金融行业高级分析师王蓬博告诉时代周报记者,理财公司传统上以固收投研能力见长,权益投资经验、人才储备和风控体系相对薄弱,导致产品设计与管理能力不足,此外,近年来资本市场波动加剧,权益类资产回撤压力大,叠加理财净值化转型后信息披露更透明,使得产品净值易受市场情绪影响而跌破面值。
新一届核心管理层落定
光大理财由光大银行全资设立,是股份制银行中首批获准筹建、首家获准开业的银行理财子公司,注册资本50亿元。
2019年9月24日,光大理财正式获批开业,首批管理层成员的任职资格也同时获得核准。包括董事长张旭阳、总经理潘东、三位副总经理王景春、郦明、刘旻光(兼任财务部负责人)等。
2024年4月,光大理财首任总经理潘东到龄退休,此后,该职位暂由时任董事长任锋代为履职。同年7月,任锋被调任光大金瓯董事长。9月,光大银行呼和浩特分行行长王景春调任光大理财党委书记、董事长。
不久前,光大理财迎来新一任总经理。根据公告,经国家金融监管总局核准,自2025年11月21日起,武兴锋担任光大理财总经理。
今年1月,曾有媒体报道,武兴锋被选任为光大理财总经理。据悉,武兴锋来自光大银行系统,曾担任光大银行总行金融同业部副总经理、总经理助理,具有较为丰富的投资经验。
不过,武兴锋公开露面的次数并不多,2017年,他曾以光大银行金融同业部总经理助理的身份参与过光大银行同业条线工作会议。
今年9月,宁夏银行与光大银行总行在银川举办交流座谈会,武兴锋曾以光大理财总经理身份出席会议,并与宁夏银行党委委员、副行长韩睿签订合作协议。
如今,光大理财新一届核心管理层已正式落定,除“王景春+武兴锋”组合外,该公司高级管理层中还有三名副总经理——唐勇、郦明、李永锋,以及首席技术官杨宇、首席合规官周舟。
下一篇:黄峥去哪儿了