进入2026年,HPV疫苗市场的价格战硝烟渐散,但行业的寒意却愈发浓厚。
进口HPV疫苗代理商智飞生物(300122.SZ)首现年度亏损、库存高企;国产疫苗厂家康乐卫士(920575.BJ)因经费短缺暂停两款HPV疫苗临床试验。头部企业与中小型研发公司接连陷入困境,宣告着曾经“一针难求”的HPV疫苗,已从蓝海市场彻底转入红海博弈。
红星资本局注意到,作为HPV疫苗产品中最受外界关注的九价HPV疫苗,最多时国内有接近10家企业已获批临床,如今有的还在冲刺上市,有的已放弃投入。
疫苗研发以高风险、高投入、长周期著称,市场的热潮退去后,入局的企业们该何去何从?

资料图 图据视觉中国
HPV疫苗价格趋稳
9价“打两针送一针”,2价采购价降到“奶茶钱”
2025年5月起,原价1300元/支的进口九价HPV疫苗(佳达修9)在多个城市推出“打一针送一针(9-14岁女性)”“打两针送一针(35-45岁女性)”的优惠活动。此前,这款由默沙东自主研发、智飞生物独家代理的疫苗,自2018年在国内上市以来,价格始终“坚挺”。
这场变相降价来得并不突然。一个月后,万泰生物(603392.SH)的首款国产九价HPV疫苗(馨可宁9)获批上市,打破了进口九价HPV疫苗垄断的局面,定价499元/支,约为默沙东产品的40%。
国内疫苗行业的价格战最初就由HPV疫苗掀起。2022年3月,沃森生物(300142.SZ)的二价HPV疫苗(沃泽惠)获批上市,成为继万泰生物之后第二家拥有国产二价HPV疫苗的企业,并于当年5月进入公费采购,两家企业的价格战也自此展开。两年多时间内,在公费采购中,二价HPV疫苗单剂价格从329元左右降到27.5元,降幅超过九成。
不过,红星资本局注意到,“二价HPV疫苗降价至一杯奶茶钱”针对的是惠民采购市场,在自费市场端,国产二价HPV疫苗并未大幅降价,目前多地单剂价格仍在200-300元左右。
摩熵医药数据显示,2025年,二价HPV疫苗在全国范围内共有88条招投标信息,涉及广东、江苏、重庆、青海等地。在非免疫规划疫苗采购市场,万泰生物的单剂价格在329元到339元不等,沃森生物价格较低,分别为196元(西林瓶)和206元(预灌装)。
2025年下半年以来,进口、国产九价HPV疫苗也并未如市场预测的那样继续打价格战。根据江苏、安徽、广东等地发布的挂网信息,万泰生物、默沙东的九价HPV疫苗单剂价格分别稳定在499元、1310元。
值得一提的是,2025年9月,国产首款四价HPV疫苗获批上市,由国药集团旗下成都生物制品研究所研发,其覆盖的HPV致病型与默沙东的四价HPV疫苗(佳达修)一致。至此,国内已获批上市的HPV疫苗共有7款。
不过,与九价疫苗相比,四价疫苗的声量较小,也未有带动进口疫苗降价的趋势。红星资本局注意到,自去年10月起,辽宁、山东等地相继发布挂网信息,国产四价疫苗单剂价格为238元,默沙东四价疫苗的价格则维持在810元左右。
尽管HPV疫苗价格趋稳,但研发厂家却挺不住了。
近日,“北交所疫苗第一股”康乐卫士发布公告称,由于临床试验经费支付逾期,现场研究经费短缺,无法继续开展后续妇科访视工作,公司三价HPV疫苗和九价HPV疫苗(女性适应症)Ⅲ期临床试验均被暂停。自2023年上市以来,康乐卫士尚未有产品获批上市,也未实现盈利。
最多时近10家企业参与
如今有的已放弃投入,有的还在冲刺上市
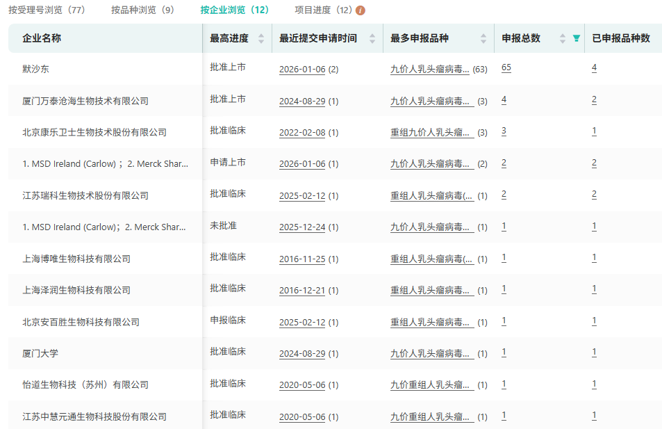
红星资本局梳理发现,与二价、四价HPV疫苗相比,九价HPV疫苗更为热门,此前参与研发的企业也更多,最多时接近10家。
摩熵医药数据显示,除了前面提及的默沙东、万泰生物、康乐卫士,2016年以来,还有瑞科生物(02179.HK)、博唯生物、上海泽润(由沃森生物控股)、中慧生物(02627.HK)等公司的九价HPV疫苗获批临床。

截图自摩熵医药数据
从公开信息来看,目前博唯生物、瑞科生物、沃森生物的项目均处于Ⅲ期临床试验阶段,而中慧生物在去年7月的招股书及公司网站上均未披露九价HPV疫苗研发进展。
1月21日,红星资本局以投资者身份致电中慧生物证券部,相关工作人员表示,HPV疫苗公司也曾尝试过,但现在已经不是核心布局方向,没有再进一步投入了,公司目前重点投入的领域是招股书披露的那些。
瑞科生物是一家成立超过10年的疫苗公司,2022年登陆港交所时尚无产品实现上市销售。从该公司网站来看,目前其进入商业化的是一款合作研发的新冠病毒疫苗ReCOV,此外进度靠前的是自主研发九价HPV疫苗、带状疱疹疫苗。

截图自瑞科生物公司网站
根据瑞科生物此前公布的2025中期业绩报告,2024年11月11日,公司曾做出业绩承诺:HPV疫苗应于2025年8月31日前取得临床分析报告,最迟不晚于2026年2月28日;应于2025年12月31日前提交产品上市申请,最迟不晚于2026年6月30日;应于2026年12月31日前获批上市,最迟不晚于2027年6月30日。
2025年12月23日,瑞科生物宣布了一项重磅人事变动,创始人刘勇辞去董事长及提名委员会主席职务,由徐浩宇接任董事长。徐浩宇更为外界所知的身份是扬子江药业集团党委书记、董事长兼总裁,此前,扬子江药业已通过定增成为瑞科生物第一大股东。
博唯生物早在2022年9月就启动了九价HPV疫苗针对男性群体的临床一期试验。根据“博唯生物”去年12月发布的一篇文章,公司在研项目十余项,四价HPV疫苗和九价HPV疫苗均处于III期临床试验阶段,十五价HPV疫苗处于II期临床阶段,重组肠道病毒71型疫苗完成临床I期试验。
红星资本局就九价HPV疫苗研发情况分别拨打博唯生物、瑞科生物、沃森生物公开电话并发去采访请求,上海博唯相关工作人员表示公司不接受采访,沃森生物相关工作人员表示具体时间以公告披露为准,截至发稿,瑞科生物未有回复。
市场热潮退去后
企业或主攻高价次疫苗,或谋求转型
北京中医药大学卫生健康法学教授、博士生导师邓勇向红星资本局表示,疫苗不同于普通商品,它关系到公共卫生安全,具有典型的公共产品属性,然而疫苗研发又需要巨额投入,存在商业获利的诉求,这种公共属性与商业属性之间的内在张力,在市场繁荣时期被资本的热情所掩盖,但当市场降温时,矛盾就会集中爆发。
红星资本局注意到,2025年上半年,智飞生物四价HPV疫苗批签发量骤降至0,九价HPV疫苗批签发量同比下降76.80%,公司陷入上市以来首次半年度亏损。1月12日,智飞生物发布业绩预告,预计2025年归母净利润亏损106.98亿元至137.26亿元,同比下降630%至780%,这是其上市15年首次年度亏损。
除了智飞生物,已有产品上市的HPV疫苗代表性企业沃森生物、万泰生物也在2025年上半年出现了不同程度的营收利润双降现象。万泰生物提到,营收下降主要由于公司疫苗板块受市场调整、政府集采及九价HPV疫苗扩龄等影响,销售不及预期。
之后,万泰生物将九价HPV疫苗看作“新的收入和利润增长点”,但也提到,疫苗的销售可能会受供应、市场、政策等客观因素的影响,最终对公司的经营业绩的影响尚有一定的不确定性。
2025年上半年,瑞科生物实现营业收入1089.9万元,收入主要来源于授予知识产权许可,当期亏损为3.41亿元,较上年同期扩大。博唯生物同样未有产品获批上市。
新智派新质生产力会客厅联合创始发起人袁帅对红星资本局表示,对于康乐卫士这类尚未有产品上市的企业,其困境更具警示意义。疫苗研发周期长、资金投入大,资本退潮与同质化竞争加剧的双重压力下,盲目规模扩张与资金分散投入的风险被无限放大。研发型企业均需从“单一赛道依赖”转向“多元化+差异化”战略,在保持公共属性责任的同时,通过技术创新与管线布局优化构建长期竞争力。
面对竞争加剧的市场,有企业将精力放在高价次疫苗。目前市场关注度较高的包括神州细胞(688520.SH)研发的十四价HPV疫苗,康乐卫士与成大生物(688739.SH)合作研发的十五价HPV疫苗。
1月20日,红星资本局以投资者身份致电成大生物证券部,相关工作人员表示,此次康乐卫士涉及的三价、九价疫苗不在其合作范围内,公司与康乐卫士合作的是十五价HPV疫苗,且对方的前期工作已经完成。神州细胞(688520.SH)证券部工作人员对以投资者身份致电的红星资本局表示,目前十四价HPV疫苗已进入III期临床研究阶段,由于产品还未上市,无法预估当下HPV疫苗市场对公司产品的影响。
值得注意的是,这均是两家企业唯一参与的HPV疫苗产品。成大生物主要做狂犬病疫苗,神州细胞的主要产品涵盖重组蛋白药物、抗体药物、疫苗等多个领域。
头部疫苗企业也在谋求转型。智飞生物此前接受红星资本局采访时表示,公司预防类生物管线在研项目达34项,包括人二倍体狂犬病疫苗、15价肺炎结合疫苗、四价流脑结合疫苗等,治疗类在研项目达8项,其中利拉鲁肽注射液正处于上市审评阶段,司美格鲁肽注射液(降糖)、德谷胰岛素注射液、德谷门冬双胰岛素注射液已完成临床III期试验。
红星新闻记者 蒋紫雯
编辑 余冬梅 审核 高升祥