红星资本局1月29日消息,近日,昔日华东最大的民营豪车经销商——宝利德总部人去楼空的消息,引发关注。
据21世纪经济报道,1月28日,记者探访了位于杭州市西湖区公元大厦的宝利德控股集团有限公司总部。
宝利德的办公区分属在该大厦的5楼、10楼和15楼。但5楼和10楼办公区基本人去楼空,仅剩少量技术岗工作人员处理与破产管理人的交接工作,坐班至1月底结束。

其15楼的办公区被贴上了“宝利德破产债权申报管理办公室”的标志,相关破产管理人已进驻办公。
记者还走访了位于杭州市萧山区的宝利德旗下杭州星宝行汽车有限公司,这里原来是梅赛德斯-奔驰授权的旗舰中心,但如今大门紧锁,被贴上了封条,偌大的展厅已基本被搬空。
据公开资料,这个成立于2001年的老牌经销商,总部位于杭州,一度是浙江最大的豪车经销商之一。2024年宝利德发生“暴雷”后,2025年正式向法院提出破产申请。
2025年8月,宝利德控股集团有限公司以其不能清偿到期债务,且资产不足以清偿全部债务为由,向浙江省杭州市中级人民法院申请破产。

2025年9月5日,杭州市中级人民法院裁定受理宝利德的破产申请,并将该案移送至杭州市西湖区人民法院审理。同年9月29日,西湖区人民法院指定浙江杭天信律师事务所、浙江普华会计师事务所有限公司为宝利德控股集团管理人。
公司官网显示,宝利德作为高端汽车品牌服务商,先后取得梅赛德斯-奔驰、一汽大众-奥迪、捷豹路虎、劳斯莱斯、林肯、阿斯顿·马丁、保时捷等国际豪华品牌的特许授权,并成为梅赛德斯-奔驰·中国、捷豹路虎·中国、林肯·中国的战略合作伙伴。
宝利德曾位列中国汽车经销商集团百强榜20强,公司主要合作伙伴还包括网易、阿里巴巴等。

公司创始人、董事长为余海军。他早在20世纪90年代进入汽车行业。从2000年获得第一家汽车品牌4S店的授权开始,直到2005年浙江越星汽车有限公司成立,获绍兴地区唯一的“梅赛德斯-奔驰轿车”授权,宝利德也成功开始打入豪车圈。

2024年初,宝利德出现负面舆情,旗下部分门店出现交车困难、多地裁员、拖欠工资、车主维权、门店停业及奔驰授权终止等问题。从2024年9月初起,宝利德旗下绍兴、长沙捷豹路虎4S店,嘉兴奔驰店发生多起车主买车不能上牌的事件。
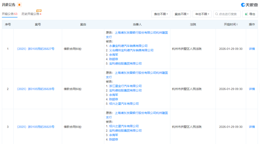
据天眼查,2024年以来,宝利德控股集团有限公司作为被告出现的开庭信息超60起,案由涉及“金融借款合同纠纷”“融资租赁合同纠纷”“借款合同纠纷”等,并涉及多起被执行案件。

宝利德控股集团有限公司、浙江宝利德股份有限公司、余海军均有多项股权冻结信息。实控人、法定代表人余海军被多次限消,已成失信被执行人。

据报道,截至2026年1月28日,余海军有13条股权被冻结信息,最新一条被执行金额超千万元。

(本文不构成任何投资建议,据此操作风险自担)
编辑 侯春萍 综合自21世纪经济报道、中国新闻周刊、每日经济新闻、公开资料
审核 高升祥