作者 |付影
来源 | 独角金融
2025年,中国保险业迎来风险处置的收官之年,也是多家高风险险企的重生元年。其中,君康人寿、上海人寿、安心财险最为典型。
这些险企曾凭借激进扩张实现规模跃升,而在内控缺失、违规操作下给险企埋下风险隐患。如今,一些险企被追溯式清算,一些则通过新设主体承接这一市场化模式,完成了从谷底到新生的涅槃之路。
1
前世:激进扩张埋下祸根
上述问题险企的发展路径各有不同,但核心问题高度相似,主要集中在资金运用不合规、向关联方输送利益、财务造假、内控失效等方面。
1、君康人寿:“忠旺系”遗留风险
君康人寿问题的根源,在于原实控人刘忠田的“忠旺系”入主后的利益纠葛。

图源:罐头图库
2016年底忠旺集团控股后,通过数十家关联企业,以股权投资、不动产购置等名义,将险资大量导向关联方,形成巨额非合规占用。风险暴露前,其关联交易余额远超公司净资产50%,违规占用资金据披露超800亿元。
2020年末,公司核心偿付能力已逼近监管红线,风险评级降至C类。2021年忠旺集团资金链断裂后,君康人寿偿付能力报告停更近5年,新业务停滞。截至2025年底处置完成前,其保费较巅峰缩水超60%,累计亏损超80亿元。
2、上海人寿:“览海系”的挪用迷局
上海人寿的病根,在于“览海系”实控人密春雷主导下的激进扩张与险资挪用。这家2015年成立于上海自贸区的首家区内法人险企,承载着改革试验田的期待,初始注册资本达60亿元。
然而,据监管处罚及媒体披露,2017年至2021年间,该公司通过违规投资关联方医疗、不动产等项目套取保险资金,累计违规关联交易超150亿元,部分资金被用于“览海系”偿债扩张。2021年下半年“览海系”资金链断裂,2022年密春雷曾“失联”近半年时间,直至2022年7月才“现身”。

图源:罐头图库
自2021年四季度后,上海人寿长期未完整披露偿付能力报告。其2021年三季度风险综合评级为C类,偿付能力不达标。尽管当年总资产达1150亿元,保险业务收入205亿元,但净利润仅0.3亿元,较2020年的2.9亿元大幅下滑。
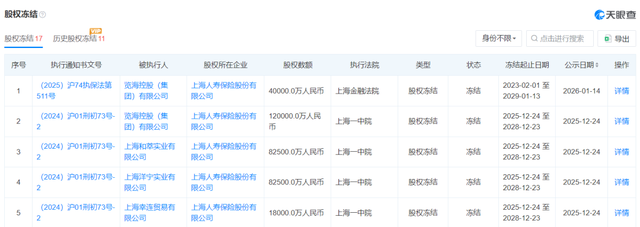
天眼查信息显示,2025年12月24日和2026年1月14日,上海人寿部分股权存在5次被冻结的情况,分别由上海市第一中级人民法院执行4次、上海金融法院执行1次,冻结股权数额总计为34.3亿元。

3、恒大人寿:被追溯式清算,责任人受罚
恒大人寿成立于2006年5月,初始股权结构为恒大集团(南昌)有限公司持股50%,新加坡大东方人寿与重庆财信企业集团各持股25%。2015年恒大集团收购后,恒大人寿凭借万能险快速扩张,走上资产驱动负债的激进之路。

图源:罐头图库
2015年至2020年,恒大人寿保险业务收入从13.05亿元飙升至603.29亿元,资产规模从201亿元突破至2415.42亿元。这种扩张模式高度依赖高收益投资支撑产品收益率,埋下了不小的隐患。
2016年恒大人寿因短期炒作股票这一违规事件发生后,被原保监会重罚,其投资端受限后,又通过通道方式变相向恒大输送资金超41亿元,后来全部违约形成系统性风险。
2021年底,恒大人寿净负债达185.7亿元,资产负债率突破108%,陷入资不抵债的困境。
2023年9月,恒大人寿由海港人寿全盘承接后,正式退出历史舞台。
两年后的2025年9月,恒大人寿风险处置进入追溯追责阶段,成为监管整治的重点案例。监管部门对恒大人寿25名核心管理人员处以合计282.5万元罚款,其中前董事长梁栋被终身禁入保险业,前投资管理中心总经理陈堃被禁业10年、前董事长朱加麟、前总精算师曾松柏等被禁业5年,上演了追溯式清算的监管大戏。
4、华夏人寿、天安财险、天安人寿被吊销营业执照
“明天系”通过分散股权、层层控股,将华夏人寿、天安财险、天安人寿、易安财险沦为资本运作工具,核心违规包括关联输送、财务造假及违规投资。
华夏人寿是典型代表。2013至2016年,其万能险保费占比一度超96%,通过高结算利率(超6%)快速扩张。但在利率下行周期,资产端收益(2021年综合收益率仅2.1%)与负债端成本(平均保底利率3.5%)缺口持续扩大,形成利差损风险。
2013至2017年,华夏人寿通过信托、合伙企业等向明天控股输送资金超千亿。2017年起向恒大相关项目投资122.3亿元,因恒大暴雷损失超16亿,加剧2021年亏损;此外,华夏人寿2020年通过虚假列支费用虚增利润2.3亿元,2021年违规调整投资资产虚增偿付能力37个百分点,产品宣传还存在误导行为。

截图内容来自海报新闻报道
“明天系”实控人肖建华通过资金池—通道—关联交易闭环掌控金融资源,股权结构复杂无法穿透,加剧系统性风险。
2022年肖建华获刑13年,明天控股被罚550.3亿元。2020年华夏人寿被接管,后由瑞众人寿承接,2025年8月被吊销许可证,25人被罚,原董事长李飞、原董秘彭晓东被终身禁业。
与华夏人寿命运相似,“明天系”旗下的天安财险、天安人寿也因同类违规问题走向落幕。因公司治理报告不真实、违规向关联方输送利益、保险条款费率违规等问题,天安财险、天安人寿于2025年6月被吊销业务许可证,合计35名责任人被处罚,其中郭予丰(天安财险前董事长)、王伟(天安人寿前董事长)等人被终身禁业。
5、安心财险:暂停三大核心业务,5名高管被长期禁业
安心财险,因激进扩张和内控缺失陷入危机。
作为国内首批互联网保险公司之一,安心财险2015年12月开业,初始注册资本10亿元。成立之初,公司股权高度分散,同时也缺乏核心股东支撑。
成立后,安心财险以互联网车险、健康险为切入点,推行激进扩张策略,2016年至2019年保费收入从0.75亿元扩张至27.21亿元,4年间增长近36倍,但同期累计亏损9.73亿元,而手续费及佣金支出的涨幅远超保费涨幅,手续费及佣金支出涨幅达381.08%。
2017年,安心财险因与P2P平台米缸金融合作,面临巨额赔付压力,偿付能力持续下滑。2020年末核心及综合偿付能力充足率从前一季度的125%跌至-175.83%,2024年三季度进一步降至-871.59%,净资产缺口达-7.35亿元,累计亏损逾20亿元。
从“互联网明星”到偿付能力充足率、净资产纷纷为负,安心财险只用了七年,它的境遇,也折射出互联网险企在风险防控、公司治理、监管效能等层面的深层变革。

图源:罐头图库
2025年12月,国家金融监管总局责令安心财险停止信用保证保险、短期健康险、车险三大核心业务新单,期限分别长达36个月、24个月、6个月。此外,14名相关责任人被罚总计77万,5名高管被禁业6至11年。其中,首任总裁钟诚的禁业期限长达11年。
2
今生:被承接后迈向稳健重生
面对问题险企的经营困局,监管部门并未选择破产清算,而是结合每家企业的风险性质、资产体量、区域属性,量身定制新设主体承接模式,分别在山东济南、上海、江苏苏州落子布局。
2025年1月26日,富泽人寿保险股份有限公司(下称“富泽人寿”)获批筹建,同年6月获批开业,并接受山东金融监管局的属地监督管理。股东阵容呈现地方国资主导,保险保障基金托底,央企险资赋能的三方协同架构。

富泽人寿注册资本170亿元,第一大股东济南金投控股集团,持股比例49.71%,中国保险保障基金有限责任公司持股35.29%,中国人保资产管理有限公司持股11.47%。济南政金通达投资集团持股3.53%。

2025年12月16日,国家金融监督管理总局正式批复富泽人寿受让君康人寿的全部业务。根据受让方案,君康人寿旗下21家中心支公司及5家省级分公司全部由富泽人寿承接。所有保单权益实现无损衔接,客户服务、理赔流程未出现任何中断,为这场长达五年的风险处置划上句号。
管理层配置上,富泽人寿董事长冯毅由济南市地方金融监管局局长转任,总经理谢祝锋来自中邮人寿,曾任中邮人寿副总裁、财务负责人,拥有近30年寿险行业经营管理经验,擅长业务布局与团队搭建。
核心管理团队成员中,多来自人保、国寿、泰康等头部险企,覆盖风控、产品、渠道等关键领域。

图源:罐头图库
上海人寿通过“银行系”主导、地方国资加持、专业险企赋能的承接模式,由浦发银行牵头设立的星启恒泰(上海)企业管理合伙企业(下称“星启恒泰”)主导处置工作,核心目标是筹建浦银人寿,实现上海人寿的平稳过渡。
星启恒泰2025年12月12日成立,注册资本106.41亿元。股权结构中包括4家大股东,其中,浦发银行持股58.33%,为绝对控股股东,上海国际集团持股25.13%,中国太保持股8.98%,陆家嘴集团持股7.55%。

图源:天眼查
浦银人寿截至2025年底尚未正式获批开业,但中国太保工作组已提前入驻上海人寿,接管其日常经营管理,重点推进业务梳理、风险排查、客户服务等工作,确保业务运行趋于稳定。
安心财险的风险处置由苏州国资接盘。
由苏州国资牵头组建的东吴财险2025年3月获批开业,注册资本20亿元,被市场视为承接安心财险风险、重启业务的关键载体,一场救赎行动已悄然开启。
东吴财险股东阵容堪称“苏州国资天团”,11家股东中10家为苏州本土国企,仅协鑫能源科技股份有限公司一家民营企业。其中,苏州国发集团持股33%,苏州新城投资、苏州交通投资分别持股14.5%、12%。
苏州国发总裁宋继峰担任东吴财险董事长,身兼保险监管和保险公司双重履历的东吴人寿副总裁夏卫新,担任东吴财险总裁。
根据最初的处置思路,东吴财险将全盘受让安心财险的合规业务及资产负债,剥离其违规资产与债务,实现风险隔离、业务重启。据《北京商报》报道,苏州国资以“迁册化险”为核心,将原公司历史负担剥离出去,由新主体承接合规业务。

图源:罐头图库
相比2023年7月3日获批开业的瑞众人寿,全面承接华夏人寿业务,其保单承接方案同样展现了中国保险保障机制的成熟。
根据监管安排,瑞众人寿全面受让其保险业务及资产负债,99.8%的保单持有人合同义务得到无缝衔接。保险保障基金通过统一代理7641家保单债权人申报债权,确保消费者权益不受影响。
如今来看,中国保险业的风险出清史,已经翻过沉重的一页。
3
监管趋严信号明确,
保险业迎来深度转型
2025年的风险处置收官,不仅意味着问题险企的存量出清,更标志着中国保险业在监管框架重塑下步入新发展阶段。从金融控股公司穿透监管到偿二代二期工程全面落地,从资本补充机制完善到产品结构深度转型,一场全方位的行业变革正在悄然发生。
2025年3月,《金融控股公司监督管理试行办法》进一步明确,对非金融企业控股金融机构实施穿透监管,建立资本充足率、杠杆率等硬约束指标。与此同时,监管部门通过偿二代二期工程强化保险公司风险管理,并将华夏人寿式的虚增偿付能力行为纳入重点打击范围。

图源:罐头图库
在更严格的资本认定标准下,保险行业资本补充需求持续处于高位。据《证券时报》梳理,2025年,险企“补血”规模合计达1454.72亿元,较2024年微增。
其中,永续债呈现爆发式增长。2023年至2025年,保险公司永续债发行规模分别为357.7亿元、359亿元、558亿元,占险企当年发债规模比例从31.8%攀升至53.6%。
低利率环境下,保险产品结构正发生深刻变革。2024年8月监管发文建立预定利率与市场利率挂钩机制后,2025年7月,保险业专家就人身险产品预定利率发表了意见,将当前普通型人身险保险产品预定利率研究值降至1.99%,比前值 2.13%下降了14个bp(基点)。
截至2025年7月1日,寿险公司共推出人寿保险和年金保险产品785款,其中分红险259款,占比约33%,到了2025年10月,这一比例大幅提升。
从中保协人身保险产品信息库统计数据看,2025年10月人寿保险分红型产品占比47.8%,年金保险分红型产品占比48.32%,从三分之一到近乎半壁江山,行业转型速度可见一斑。
在资产负债匹配要求下,保险资金运用结构持续优化。
据招商证券研报指出,2025年四季度末,保险公司资金运用余额达38.48万亿元,较年初增长15.7%,全年净增加5.22万亿元,主要是受负债端保费规模增长和资产端公允价值上升的共同影响。
权益投资方面,股票占比创近四年新高。2025年末股票余额3.73万亿元,全年净增加1.31万亿元,远超2023年的523亿元和2024年的4855亿元水平,占比进一步提升至10.1%;此外,2025年内险企举牌达41次,创近十年新高,其中六成为H股上市公司,凸显险资对高折价、高股息资产的战略性布局。
历时多年的风险出清,彻底扭转了此前保险业部分领域重规模、轻风险、重扩张、轻合规的畸形发展态势,清除了行业高质量发展的存量障碍。随着风险处置成果的持续巩固,以及重生险企对“保险姓保”初心的坚守,中国保险业将彻底告别激进扩张时代,步入合规经营、稳健发展、价值优先的新阶段,逐步实现从规模增长向质量提升的转变。