
全文共1613字,阅读大约需要11分钟

套证生产、违规添加、违规销售,但这并非外泌体乱象的全貌。
北京商报记者丨王寅浩 宋雨盈
3月15日,央视3·15晚会再度揭开医疗美容行业的灰色地带,以“万能”的外泌体为噱头的乱象被公之于众。在这场曝光中,郑州源创基因科技有限公司(以下简称“源创基因”)被直接点名,而这家公司的实际控制人赵辉,还有一个特殊身份——A股上市公司贝瑞基因的现任董事会董事。
从机理不明到包装“封神”
外泌体,是一种在干细胞培养过程中分泌的生物活性物质,但这种物质在医疗界和学术界,其作用机理、临床测试等多项医学程序上,尚不能明确,更多还停留在学术研究和理论研究的阶段。恰恰是这样尚无定论的生物活性物质,却也成为医美行业“包装造神”的重灾区。央视3·15晚会记者调查发现,部分企业将外泌体包装成“逆转衰老”“修复再生”的万能神药,利用信息不对称收割消费者,实则产品功效缺乏严格的临床试验支撑,相关制备标准亦处于监管灰色地带。
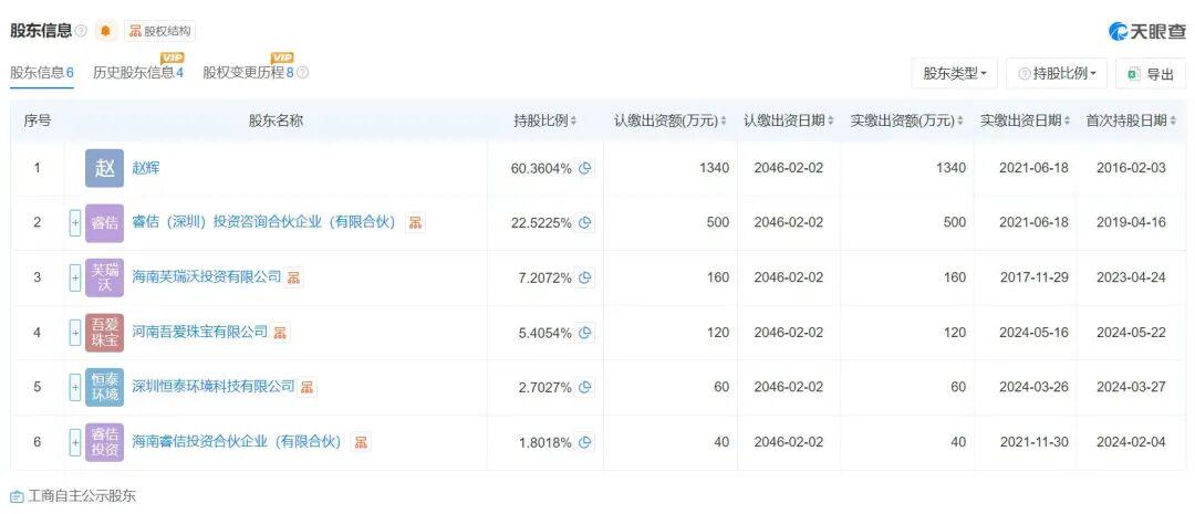
天眼查App显示,源创基因成立于2016年2月,法定代表人为赵燕,实际由赵辉、睿佶(深圳)投资咨询合伙企业等共同持股。公司经营范围包括干细胞及免疫细胞采集、储存、制备及技术研发,干细胞及免疫细胞临床研究与转化应用等。值得注意的是,该公司多项专利申请已被驳回,包括“一种免疫细胞的冻存液及冻存方法”“一种皮肤成纤维细胞的制备方法”等。

随着源创基因被曝光,其背后实控人赵辉的履历也引发关注。公开信息显示,赵辉拥有光鲜的学术背景——曾在美国哥伦比亚大学医学院从事博士后研究,担任副研究员,后在中国科学院北京基因研究所获得博士学位。在商业版图上,赵辉既是郑州源创基因科技有限公司的董事长兼首席科学家,也是基因测序龙头企业贝瑞基因的董事会董事及审计委员会委员。
从套证到“借台代打”
“外泌体这两年真的是非常火,是抗衰界的宠儿。”这是近期医美市场上最为火爆的一类产品介绍。2025年6月,国家药品监督管理局药品审评中心虽已发布征求意见稿,拟将具有治疗功能的外泌体纳入药品监管,但截至目前,我国并没有任何外泌体药品获得上市销售批准。
央视3·15晚会记者调查发现,一款名为“轻澄”的外泌体产品在各大医美机构销售火爆,标称自己是“第二类医疗器械”。但其生产商灏麟(天津)生物科技有限公司工作人员坦言,为了躲避市场监管,他们“套”用了胶原蛋白的许可证。天眼查显示,该公司成立于2019年6月,注册资本1000万元,对外投资了灏麟生物医药(天津)有限公司等多家企业。

套证生产、违规添加、违规销售,但这并非外泌体乱象的全貌。在西南某市,婕波噻尔生物科技有限公司负责人谭总更是直言不讳地宣称,他们用外泌体治疗癫痫、关节炎、糖尿病等疾病。央视3·15晚会记者目睹其从冰箱里拿出的“医用级别外泌体冷冻原液”,包装上没有任何产品信息,妥妥的“三无”产品。由于公司没有医疗资质,注射只能找医疗机构合作,业内称这种操作方式为“借台代打”。谭总透露,一次疗程用6000亿颗粒数,向顾客收费高达6万元。
此外,天津南开诚星医疗美容诊所也在此次315曝光中被点名。天眼查App显示,天津市诚星医疗美容诊所有限公司成立于2018年2月,注册资本100万元,2024年参保人数仅3人。知识产权信息显示,该公司申请的两枚图形商标均已被驳回无效。

与此同时,网络上也充斥着大量消费者的投诉和吐槽:“我就做了外泌体,结果全脸感染,严重痤疮”“我打了,然后过敏了,烂脸三个月”“几乎是毫无效果,骗钱的”。
清华大学药学院研究员杨悦指出,所有的医疗技术和药品在人体使用之前,都需要进行前期非常严格的药学研究、临床研究。通过这样一个严格过程去验证医疗技术和药品的安全性和有效性。没有经过药品监管部门的批准就用在人体上,可能会有一些风险。这个产品打到人身体上之后,会导致人体器官和功能损害,甚至是永久损害。
编辑丨汪乃馨 实习编辑 刘焕粤
图 片丨央视新闻视频截图、天眼查截图
上一篇:充值健身卡遇停业 千元余额退款难 健身卡退款收30%违约金合理吗 充值健身卡老板跑路了能追回吗
下一篇:用自然生长做增高承诺、把禁用设备当“增高神器”,“3·15”曝光的稳赚增高生意 用自然生长做增高承诺、把禁用设备当“增高神器”,“3·15”曝光的稳赚增高生意