
李亚鹏持股公司又遭强执!
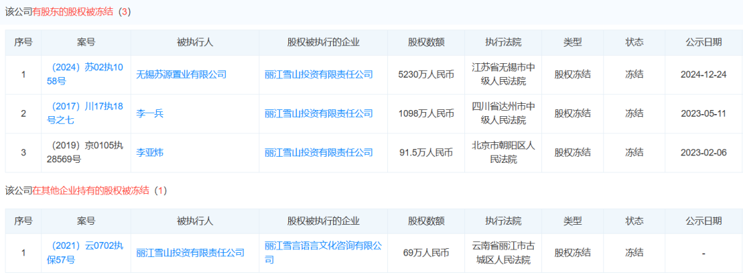
5月27日消息,天眼查显示,丽江雪山投资有限责任公司新增3条被执行人信息,被执行总金额约244万元,执行法院均为丽江市古城区人民法院。

丽江雪山投资有限责任公司成立于2008年11月,法定代表人为李国栋,注册资本约2.6亿人民币,由阳光壹佰置业集团有限公司、李亚鹏等共同持股,其中,李亚鹏持股约27.8%。

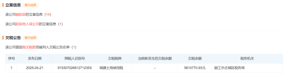
风险信息显示,上述公司已被限制高消费,并存在多条股权冻结信息,还曾因该拖欠税款而被列入欠税公告名单。


李亚鹏目前担任两家企业的法定代表人,和6家公司的股东(一家已注销)。

除丽江雪山投资有限责任公司外,李亚鹏还有多条股权冻结等周边风险信息。目前,李亚鹏已于2023年10月被北京市朝阳区人民法院限制高消费。

妻子称为缩减开支搬家至普通小区
两周前,李亚鹏妻子称为缩减开支搬家至普通小区,引发关注。
据津云新闻,5月13日,李亚鹏妻子海哈金喜发视频称,因要缩减开支,所以要搬家换一套小一点的房子住。海哈金喜透露,因李亚鹏在外出差,看房搬家的重任交在她身上。她觉得房子大小不重要,温馨最重要。
2020年末,49岁的李亚鹏公开与比自己小19岁的女友海哈金喜在一起的恋情。2022年3月14日,李亚鹏与现任妻子海哈金喜的孩子出生。
据悉,李亚鹏早年出道,出演《笑傲江湖》《射雕英雄传》等多部金庸武侠剧,赢得了无数观众的喜爱。他将目光投向更为广阔的商业领域,赚得数亿身家,但后来多次投资失败。
去年末,李亚鹏宣布卖酒,频繁在自己的视频账号上为一款名为“拎壶冲”的白酒“打Call”。拎壶冲由贵州酱酒集团出品,3款产品售价主要在398~1298元。但从当时直播数据看,多场直播销量销量为0~50件,销售额仅5000~7500元。

图:抖音账号“李亚鹏”视频截图
另据荆楚网, 李亚鹏账号1 ~20秒视频报价为3.8万,21~60秒视频报价为5.1万,60秒以上视频报价为7万。
去年李亚鹏还曾被曝拖欠员工工资,李亚鹏随后发布道歉视频。

去年2月,李亚鹏曾在直播中哭诉自己还了十多年的债,还连续吃了一个星期的外卖。但不少网友评论表示,“还能吃外卖的算穷吗?”“他以为外卖便宜吗?”还有人评论称,“他不是真穷,是被法律限制花钱”。
来 源 | 21财经客户端、九派新闻、津云、荆楚网、天眼查、公开信息
SFC
本期编辑 刘雪莹
21君荐读
上一篇:中证协更新一批“问题保代”名单,涉国元、东吴等6家券商 中证协再推投资者保护新标准 中证协通报证券行业
下一篇:一季度增收不增利!与投资永辉有关?名创优品回应了 名创优品三季度利润为什么没有涨 永辉超市名创优品对股价后续影响