据天眼查显示,哪吒汽车原CEO张勇新增一条股权冻结信息,冻结股权数额4050万元人民币,被冻结标的企业为桐乡合创德力叁科技咨询合伙企业(有限合伙),冻结日期自2025年5月13日至2028年5月12日,执行法院为浙江省嘉兴市桐乡市人民法院。

据了解,张勇深耕汽车行业多年,加入合众新能源之前在北汽系任职,2018年1月加入合众新能源担任公司联合创始人、CEO,并于同年6月发布新能源汽车“哪吒汽车”,后在张勇的带领下,哪吒汽车也逐渐成为新势力品牌中的翘楚,甚至一度攀升成为新势力销冠。然而,伴随着市场行业竞争的加剧,以及哪吒汽车产品力、营销方面的不足,哪吒汽车开始出现经营危机,并在2024年下半年开始集体爆发,拖欠工资、工厂停产、供应商催债等问题不断,最终张勇CEO职位被罢免,由创始人、董事长方运舟担任CEO。据了解,张勇微博已经长达7个月未更新。

不过,方运舟担任CEO后,哪吒汽车的情况并没有带来好转,由于资金问题,供应商集体到合众汽车总部维权,而买了哪吒汽车的车主更惨,普普通通的一个零部件就需要等几个月时间才能到货。哪吒汽车相关负责人回应称,公司自去年爆出资金链紧张以来,一直在寻求融资、努力自救,但情况不乐观,仍在推进中。
合众新能源汽车股份有限公司成立于2014年10月,法定代表人为方运舟,注册资本约28.37亿人民币,经营范围包括新能源汽车整车及零部件的设计开发、生产、销售及相关的咨询服务等,由南宁民生新能源产业投资合伙企业(有限合伙)、北京华鼎新动力股权投资基金(有限合伙)、宜春市金合股权投资有限公司等共同持股。


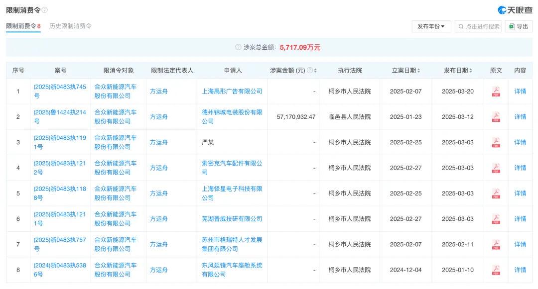
据天眼查显示,合众新能源汽车股份有限公司现存开庭公告327条,基本都是来自哪吒汽车的零部件供应商以及广告营销公司,现存8则限制消费令,限制对象均为董事长方运舟,涉案总金额5717.09万元,累计95次被执行,被执行总金额14499.27万元,累计出现95条被法院冻结股权的记录。
不久前,合众新能源汽车股份有限公司新增(2025)浙04破申3号,合众新能源汽车股份有限公司被上海禹形广告有限公司申请破产重整,经办法院为浙江省嘉兴市中级人民法院。

当前,新能源汽车市场的竞争格局正在发生深刻变化,淘汰赛已经全面打响。在这场激烈的竞争中,只有那些具备强大技术实力、良好品牌口碑、高效管理团队和充足资金支持的企业,才有可能脱颖而出。哪吒汽车要想在这场淘汰赛中生存下来并实现逆袭,就必须正视自身存在的问题,迅速做出调整和改变。未来,哪吒汽车的命运仍然充满了不确定性,能否在激烈的市场竞争中找到自己的定位,存在诸多变数。(汽车行业关注)