重庆啤酒与重庆嘉威之间的品牌权之争仍未落定。
近日,重庆啤酒(600132.SH)控股子公司嘉士伯重庆啤酒有限公司(下称“嘉士伯重庆”)获批注册“山城啤酒”商标(注册号78897444,国际分类32类)。
重庆啤酒与参股公司重庆嘉威啤酒有限公司(下称“重庆嘉威”)之间围绕“山城啤酒”商标权归属、市场利益分配等方面的纷争,也就此被推向新的高潮。
“口水战”持续升级
重庆啤酒与重庆嘉威之间的纠葛由来已久。
1999年,重啤集团以“山城啤酒”商标使用权作价入股重庆嘉威,获取了33%股权,但当时协议未明确使用权到期后的归属问题。
2009年,重庆嘉威与重庆啤酒签订了一份有效期为20年的《产品包销框架协议》。协议约定,在期限内,重庆嘉威生产的山城牌商标系列啤酒,全部交由重庆啤酒包销。此后数年,双方合作密切。
然而,2013年外资啤酒巨头嘉士伯入主重庆啤酒后,一系列调整致使重庆嘉威啤酒包销量减少,利益受损。2015年,重庆啤酒也对“山城牌”啤酒注册商标计提减值准备5120.06万元。次年更是将“山城”啤酒划归为“低档产品”。
从销售数据上能清晰看出山城啤酒近些年的落寞,2013年其产销量为100万吨,2014年下滑为73.68万吨,2019年继续跌至11.56万吨。至2023年,山城啤酒和其他经济型啤酒合共销量才9.84万吨,较2013年缩水90%以上。
山城啤酒销量下滑成为双方矛盾激化的重要原因之一,重庆嘉威认为,嘉士伯入主重庆啤酒后,存在主观、恶意消亡山城啤酒的嫌疑,包括不限于未按规定履行包销协议、未给予山城啤酒合理的宣传推广。
随着矛盾激化,双方近些年展开多轮诉讼,博弈焦点从违约赔偿逐渐转向品牌权之争。
2025年3月,重庆五中院在合同纠纷一案中一审判决重庆啤酒赔偿重庆嘉威3.53亿元,公司随即在2024年年报中计提预计负债2.54亿元。很快,重庆啤酒再次提起上诉。
双方口水战也在升级。嘉士伯中国官网近期发文强调,嘉士伯控股的重庆啤酒拥有“山城”品牌的完整所有权。其认为,重庆嘉威所谓的“山城商标使用权”一直是与“包销合作关系”紧密捆绑的,包销协议在2029年1月到期之后,其使用权也随之终止。
重庆嘉威则主张,以商标使用权出资入股,是赋予嘉威对“山城”啤酒商标的永久使用权,为其公司使用“山城”品牌提供法律保障和可持续发展奠定基础。同时,嘉威为此支付股利累计超过6亿元。
目前,这场口水战和官司战都在持续胶着,距离双方签订的《产品包销框架协议》到期仅剩4年时间,有观点认为,嘉士伯试图通过商标注册,为2029年协议到期后彻底切断重庆嘉威的品牌使用权做准备。
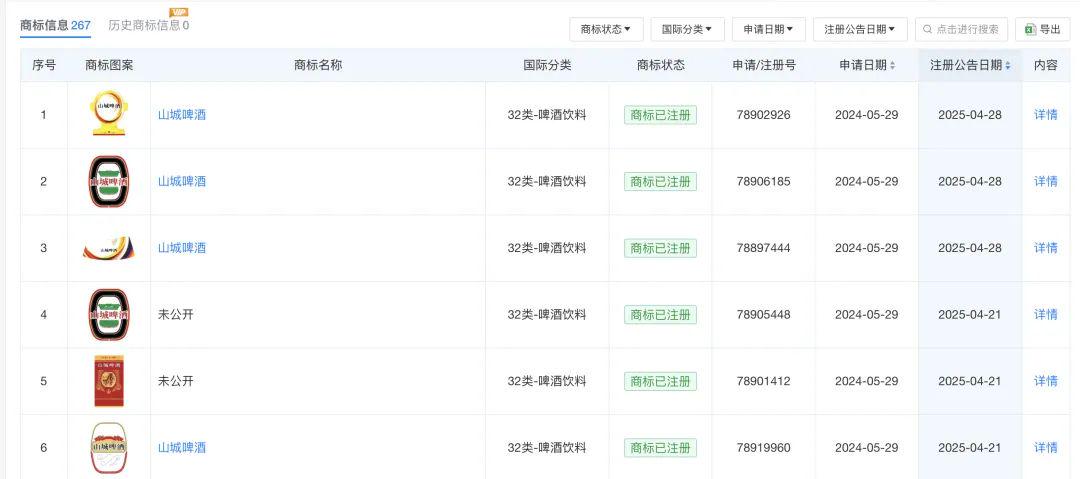
据中国商标网数据,2024年以来,嘉士伯重庆已累计提交15件“山城啤酒”商标申请,涵盖多种文字、图形设计。

嘉士伯重庆注册的“山城啤酒”商标 信息来源:天眼查
排名掉至第五
重庆啤酒近来的日子并不好过。
2024年,公司营业收入146.45亿元,同比下降1.15%;归母净利润为11.15亿元,同比下降16.61%,出现近十年来首次营收、利润双降。全年啤酒销量为297.49万千升,同比下降0.8%,吨价则同比下降0.4%,量价均承压。
下滑的不只是业绩,还有行业排名。
去年,燕京啤酒以3.2%的增速实现146.67亿元营收,超越重庆啤酒,跻身啤酒行业第四位,重庆啤酒则降至第五位。
2024年,公司三档产品中,以山城啤酒为代表的经济产品唯一销量、收入均保持正增长的。
按消费价格划分,重庆啤酒高档产品(8元以上)去年销售145.72万千升,同比增长1.37%,但收入下降2.97%,为85.92亿元,占总营收的比重超58%。主流产品(4—8元)销售140.6万千升,同比下滑3.81%;收入52.43亿元,同比下降1.02%。

重庆啤酒旗下红乌苏 左宇摄
仅经济产品(4元以下)保持上涨,销售11.17万千升,同比增长13.49%,收入同比增长15.56%至3.35亿元。但因其占比较小,未能抵消高档、主流产品的下滑部分。据了解,经济产品主要代表品牌为山城、西夏。
今年一季度,高档、主流、经济产品收入同比增速分别为1.21%、1.99%、6.09%,经济产品增速显著高于高档、主流产品。近两年消费降级趋势明显,发力下沉市场的底盘经济产品自然也不容有失。
四年后的商标使用权归属尚未明朗,当下的业绩压力又迫在眉睫。重庆啤酒如何在这场内忧外患中突出重围?