
题图来源:视觉中国
记者丨谢之迎 谭璐 编辑丨谭璐
河南方便面大王,因为商标文字,突然陷入舆论危机。
6月初,白象多半桶方便面的“多半”是商标,冲上热搜。据称,白象“多半”系列产品,较之普通款,面饼克重仅有少量增加,有误导消费者之嫌。
白象食品随即声明,申请注册“多半”商标,初心是与常规份量产品做区分,将尽快调整该产品包装。
负面舆论一出,白象食品董事长姚忠良猝不及防。
这位63岁的驻马店老板,凭借“民族品牌”的正面形象和略带“疯感”的产品上新,让白象成为“网红”。
“哪怕销售量慢一点,利润低一点没关系,坚持做正确的事情。”姚忠良曾如此表示。
信任危机
“学什么不好,学着玩文字游戏。”有网友在微博评论道。
过去几年,从315“土坑酸菜”事件中声明良心,到雇佣残障员工、频频捐款,姚忠良迎来了一波波“野性消费”,白象几乎成为最拉好感的方便面品牌,销量大涨。
此次风波,大大折损了姚老板攒下的好口碑。
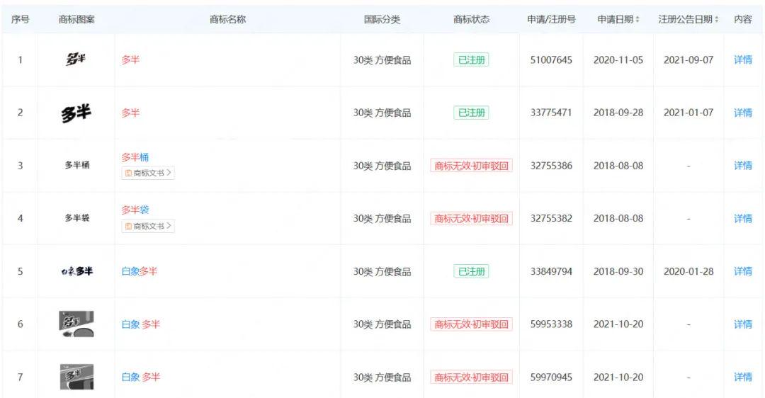
有消费者留意到,白象旗下的“多半袋面”和“多半桶面”系列产品,包装上以小字注释:“多半”是白象食品注册商标。

这与一般认知的分量“多半”有出入。
《21CBR》记者查询白象天猫官方旗舰店,其“多半袋面”,主打“大分量,倍满足”。
以红烧牛肉面为例,面饼为120克,较常规款面饼85克,多出35克,增量41%,未达到“多半”的程度。
官方客服回应记者称,在售的“多半”系列产品,是基于原70克面饼推出的110-120克面饼的大份量产品;“多一半”系列,则是基于原60克面饼推出的100克面饼产品。
天眼查显示,“多半”“白象多半”“白象多半袋”以及“白象多半桶”等商标,大多在2018年至2021年间申请注册。
河南泽槿律师事务所主任付建告诉《21CBR》记者,消费者有权知道商品的真实信息,包括产品的分量、品质、配料等。

这类“文字游戏”,故意模糊关键信息,或侵犯消费者的知情权。
客观地说,“多半”这类商标玩法,姚老板的白象并非孤例。
在方便面行业,暗示“量大”的宣传语相当常见,例如今麦郎“1桶半”桶装方便面,面饼标注克数为110克,与85g的今麦郎弹面小桶产品对比,也未达到宣称的分量。
制造爆款
在巨头把持的方便面江湖,姚忠良杀出一条路。
数据显示,到去年四季度,康师傅、统一和白象,分列国内方便面类前三位,今麦郎排第四。

白象食品有高管公开称,2024年,公司收入破100亿元,增速为双位数。
这相当不易,同期,统一的方便面业务,销售增速仅2.6%;康师傅则微降1.3%。
姚忠良的强势突围,与其产品创新、营销破圈有关。
主力产品上,有大骨面、高汤面和老母鸡汤面,今年推出的甄味汤馆系列,均主打一口“好汤”,站稳市场。
针对年轻一代的喜好,2023年,白象推出猎奇口味的香菜面,上市首日即告售罄,一年卖出2800万元。

此外,他还顺势推出苦瓜鸡汤面、折耳根拌面、臭豆腐脏面等产品,今年5月,又联合卫龙推出“辣条拌面”,引发关注。
姚忠良的痛点在于,外卖平台和自热食品日益普及,正无情压缩方便面的整体空间。
跟同行一样,他也另谋他路,加大饮料和其他速食产品的布局。
记者在天猫官方旗舰店看到,白象有荞麦面、油醋汁、魔芋凉皮等轻食,以及卤鸡蛋、鲜猪肉肠、全麦面包的等休闲零食在售。其中,午餐肉产品显示已售10万+。

趁着无糖茶热潮,4月,姚忠良推出了金桂乌龙、柑皮白茶、茉莉花茶三款新品,不过,在天猫“白象饮品专卖店”,销量仅为500+。
“饮品领域,白象的优势在于品牌有一定知名度,也有资金实力,可借助原有渠道推广。”
福州公孙策公关合伙人詹军豪告诉《21CBR》记者,劣势则是品牌定位不清,难以打破消费者的固有认知,无法与专业饮品品牌抗衡。
资本之路
姚忠良的创业之路,并非一帆风顺。
白象的前身正龙食品,由于产品滞销,濒临倒闭。1997年,姚忠良毅然上马担任总经理,进行了内部改革与市场拓展,公司逐渐站稳脚跟。
目前,姚为白象食品实控人,持股达68.86%。
姚老板曾计划在A股IPO,未能如愿,2014年宣布中止上市辅导。
好在,白象贵为行业老三,姚忠良又长袖善舞,这些年与各路资本往来频繁,获得达晨创投、龙柏宏易资本、中原联创等机构的青睐。
姚忠良的驻马店老乡、高瓴资本创始人张磊,也抛出橄榄枝。
2020年,白象获得高瓴的3亿元B轮融资;2023年,完成5亿元Pre-IPO轮融资,由高瓴领投,美团龙珠、美团战投等跟投。
此轮融资后,白象的估值达到300亿元。有消息称,姚老板或筹备分拆子公司,再次冲击IPO。
高估值,得益于姚忠良能抓产品,也善搞渠道。

比如美团系股东,掌握着本地生活和新零售版图。白象可通过2000家社区自提点实现“次日达”,借助美团闪购打造“5分钟鲜食圈”。
他也着力布局电商,线上销售占比已达42%,复购率连续三年超25%。
白象电商市场营销中心总监徐轶秋曾表示,部门员工超过300名,分别位于郑州与上海。
仅抖音赛道,就有接近百人的自营团队、近20家自营店铺、十几个直播间。

姚忠良正加速开拓线下渠道,尤其在华东和华南区域,强调“厂商一家”。
姚个人,所获评价也甚高。
兴旺资本创始合伙人黎媛菲,连续两轮独家领投白象。
她回忆称,第一次沟通时,全程姚没提过一句业务、产品和数据,一直在说价值观、文化、组织和人才,由此感觉白象与多数企业不一样。
姚如此重视价值观,不幸陷入“多半”风波,也是个教训。