这是一个文旅行业探索转型之路的典型样本。
同花顺数据显示,2025年第一季度,公司实现营业收入2.12亿元,比上年同期增长55.22%;实现净利润0.31亿元,比上年同期增长158.67%。
机构预测,公司2025年净利润将继续实现翻倍式增长,遥遥领先同行业竞争对手。

二级市场表现方面,截至6月18日收盘,祥源文旅1年涨跌幅在行业内名列第2,强于行业指数,强于上证指数。
历经5年蛰伏,祥源文旅终于打赢了一场漂亮的“翻身仗”。

合纵连横,深度布局文旅资源
从“文化”到“文旅”,一个字改变,却是祥源迈出的一大步。
祥源文旅前身最早可追溯至成立于1992年的庆丰股份,彼时公司主营中高档棉纺织生产、加工、销售,此后,经历多次更名与业务更替。
2016年,万家文化受资本市场影响,股价一度暴跌,以至停牌。2017年,祥源控股集团成功捡漏,用16.74亿元代价成为万家文化的实际控制人,万家文化更名为祥源文化。

原本想靠“动漫+文旅”双轮驱动发展,却事与愿违。到2020年,祥源文化营业收入已经锐减至2.32亿元,甚至不足收购时的三分之一。
2021年4月,祥源文化决定向文旅产业转型,经营思路是以激活文旅资产的价值为导向,根据文旅资产的自身特色,找到适合的项目定位、投资逻辑和产品运营模式。
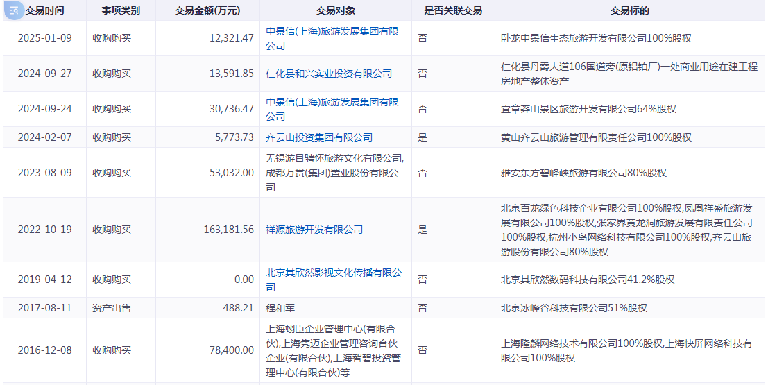
2022年10月,公司通过发行股份以16.32亿元收购百龙绿色、凤凰祥盛、黄龙洞旅游、齐云山股份等股权,募集配套资金3亿元。同年11月,祥源文化正式更名为祥源文旅。
2023年9月,以5.3亿元碧峰峡旅游80%股权;2024年,齐云山旅游、宜章莽山旅游、广东韶关丹霞山等旅游项目的控制权也相继被祥源文旅收入囊中。
不仅如此,祥源文旅还发展了许多创新业务。比如,2024年4月推出一站式休闲度假服务品牌“祥源旅行”,目前还在加速培育阶段;布局江上游轮市场,推出长江三峡豪华游轮;组建低空旅游公司“祥源通航”,探索实现低空旅游规模化运营及产业的创新升级。


“优质核心资源的文旅项目投资一直在它布局的重要逻辑线上。”在分析人士看来,高强度投资,大幅改善了祥源文旅的资产结构。
目前,祥源文旅的资产涵盖大量稀缺性文旅资源,项目分布广泛,覆盖全国主要客源地,产品类型多元、业态新颖,轻重资产兼而有之。目标是通过深度布局“文旅+科技+IP”的产业模式,打造新型文旅平台。
不容忽视的是,并购带来成长新空间的同时,祥源文旅一直承担着较大的商誉风险。2024年年报显示,公司商誉账面原值11.94亿元,已计提商誉减值准备4.68亿,剩余商誉7.26亿元。

走出低谷,净利润翻倍式增长
祥源文旅的一系列布局,正在加速转化为经营效益。
根据申万行业二级分类,旅游及景区类上市公司共22家,根据已披露2024年年报和2025年一季度表现看,冷暖分化十分明显。其中,近半数业绩出现下滑,有的甚至已经亏损四五年之久。
在此背景下,2024年,祥源文旅实现营收8.64亿元,同比增长19.64%,归属上市公司股东的净利润1.47亿元,同比下降3.14%,归属上市公司股东的扣非净利润1.44亿元,同比增长4.4%。
2025年一季度,实现营业收入2.12亿元,同比增长55.22%;净利润3119.48万元,同比增长158.67%。


这一系列的变化,也引起了二级市场机构投资者的广泛关注。同花顺数据显示,截至目前,已有11家机构对祥源文旅业绩进行预测,其中2025年预测净利润增长率高达147.87%,位居行业首位。

股价是市场对公司未来预期的综合体现。随着转型逐渐成效,带动公司股价持续上涨。截至6月17日收盘,今年以来,祥源文化涨幅接近20%,位居行业第四。

截至今年一季度末,已有不少知名投资机构,纷纷加仓祥源文旅。

近年来,受经济大环境影响,文旅行业也陷入了集体性的迷茫。从更深层次来看,作为城市旅游发展的排头兵,文旅上市公司则承担着引领潮流,推动当地文旅产品、业态迭代升级的重任。祥源文旅的转型为行业的发展提供了一个可借鉴的样本。