
文|恒心
来源|博望财经
“孩子穿一次脚就肿了”“这么贵还伤脚,太恶心了”——近期,售价动辄数百甚至上千元的泰兰尼斯童鞋,因“磨脚”问题在社交平台和投诉网站上引发家长关注。
这个以“稳稳第一步,高光每一步”广告语席卷全国核心商圈的童鞋品牌,正陷入一场前所未有的信任危机。
与消费者投诉形成鲜明对比的是泰兰尼斯亮眼的业绩数据:2024年销量突破600万双,营收超30亿元,同比增长50%;2025年“双11”更登顶各大平台童鞋销量榜首,超越了耐克儿童、安踏儿童等知名品牌。
一边是投诉超过800起,一边是年销30亿的商业神话,泰兰尼斯究竟靠什么征服了焦虑的家长?这场靠资本与广告堆砌的品牌盛宴,又能持续多久?
01
营销狂飙与业绩神话:电梯广告里的30亿生意
从上海南京西路到北京国贸,从广州天河到深圳万象城,泰兰尼斯的巨幅户外广告几乎无处不在。
据《新浪财经》报道,部分核心广告位周租金高达百万元,泰兰尼斯正以“饱和式投放”强势抢占家长与儿童的注意力。这个成立于2011年的品牌,在2022年与分众传媒合作后,开启了全国性广告轰炸,仅2022年电梯广告总曝光人次就超过93.3亿次。
泰兰尼斯的营销策略精准抓住了当代家长的育儿焦虑。
其广告画面中,深夜妈妈因梦见孩子摔跤惊醒,职场妈妈开会走神只因臆想孩子跑步滑倒哭喊。通过放大“孩子摔跤”的焦虑点,泰兰尼斯将选鞋问题上升至骨骼发育高度,把“穿错鞋”与“扁平足、内八字、影响腿型”等健康风险直接关联。
据《消费日报社》点评,这种营销方式,配合“稳稳第一步,高光每一步”的广告语,成功将产品与孩子的成长关键期、未来成功进行隐晦关联。

营销投入带来了惊人的回报。据《蓝鲸新闻》报道,创始人丁飞曾透露,跟分众合作之前年销售也就三到五亿,而到2024年,泰兰尼斯已成为年销售额超过30亿的品牌。另据《证券之星》报道,2025年前三季度营收更是飙升至36亿,超越24年全年总和。

![]()
在渠道布局上,泰兰尼斯已在全国开设超1000家门店,入驻北京SKP、上海久光百货、杭州嘉里中心等高端商场,甚至将门店开到了美国比弗利中心。
然而,这种高举高打的营销策略也引发了业内质疑。据《新识研究所》报道,鞋服行业战略专家程伟雄指出,泰兰尼斯试图通过高定价塑造高端形象,但其线上销售主力仍是100-200元的大众化产品,千元以上高价款复购率偏低。他直言:“这种‘高端定位+平价走量’的分层销售,暴露了品牌在价格体系上的矛盾。”

02
高价背后的技术空心化:90%专利是外观设计的尴尬现实
泰兰尼斯主推的“稳跑鞋”“机能鞋”等产品,售价普遍集中在300元至2000元之间,旗舰款价格直逼2000元,远超安踏、特步等国产品牌童鞋线,甚至高于耐克、阿迪达斯的儿童系列,部分产品已比肩昂跑等成人高端跑鞋。

为支撑如此高的溢价,泰兰尼斯在宣传中强调技术投入,创始人丁飞曾公开表示,每年将至少一成营收用于研发,是营销费用的1.2倍以上。

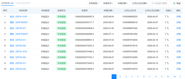
但天眼查数据揭示了一个尴尬的现实:泰兰尼斯所属杭州泰潼商贸有限公司拥有148项有效专利,其中约90%为外观设计专利,涉及鞋底科技、足部护足的核心发明专利寥寥无几,部分甚至已处于撤回状态。对此,《新识研究所》点评,所谓的“技术壁垒”更多体现在鞋款外观上,而非儿童足部健康的实质性技术突破。


更令人担忧的是,泰兰尼斯主打的“碳板设计”稳跑鞋,宣称可增强稳定性、减少崴脚风险,却遭到医学专家的警告。
北京中医药大学附属第三医院手足外科副主任医师魏芳远指出,碳板鞋原本为专业运动员设计,其刚性结构会限制儿童足部自然弯曲,干扰足弓和下肢肌肉正常发育,长期穿着可能增加扁平足、足外翻等风险,甚至引发足底筋膜炎。浙江大学医学院附属儿童医院骨科负责人唐欣也曾表示,目前并无研究证实学步鞋能帮助孩子更快学会走路,也没有对比试验证明其能减少摔跤。


在黑猫投诉平台上,关于泰兰尼斯的投诉已超过800起。用户反映的问题高度集中:新鞋穿1-2次即大面积脱胶、掉漆,换新后问题依旧;鞋子内部硌脚、磨脚,孩子穿着后出现红肿、肿胀。

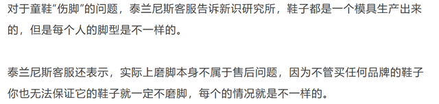
面对消费者的质疑,泰兰尼斯客服的回应更是引发众怒:“鞋子都是一个模具生产出来的,但是每个人的脚型是不一样的”“磨脚本身不属于售后问题,因为不管买任何品牌的鞋子你也无法保证它的鞋子就一定不磨脚”。

03
商业模式隐忧与行业挑战:童鞋赛道的红海竞争
泰兰尼斯的崛起,恰逢童鞋市场从“基础穿着需求”向“专业化护足解决方案”转型的关键时期。
中研普华产业研究院指出,童鞋已超越“保护足部”的基础功能,演变为集“健康监测、运动适配、时尚表达”于一体的儿童成长生态系统。在这个千亿级市场中,家长对儿童足部健康认知的提升,催生了“功能鞋”需求的爆发。

然而,泰兰尼斯面临的竞争压力不容小觑。
根据中华全国商业信息中心的监测数据,2025年5月童鞋市场前十位品牌包括安踏、adidas、NIKE、泰兰尼斯、FILA、三六一度、斯凯奇、沙驰、李宁、巴拉巴拉,其市场品牌综合占有率合计为44.77%。


除了传统运动品牌的挤压,泰兰尼斯还面临专业童鞋品牌的竞争。
江博士、基诺浦等品牌凭借其在儿童足部健康领域的专业形象,在功能细分市场形成了差异化竞争优势。这些品牌虽然定价相对较低,但在产品质量和口碑积累上更具优势。
更致命的是,泰兰尼斯过度依赖营销驱动的增长模式正面临消费者理性回归的挑战。
第三方数据显示,泰兰尼斯在某电商平台上过去一个月的销售额为1000-2500万,其中100-300元价位的商品销售额占了近80%,高于1000元的产品营收占比仅有0.25%。

这意味着,尽管泰兰尼斯在铺天盖地的广告里大肆宣传售价上千的高端产品,但家长们普遍买单的,还是相比起来更有性价比的产品。
结论
泰兰尼斯的案例,是中国消费市场一个极具代表性的缩影:通过精准的焦虑营销和饱和式广告投放,在短时间内打造出一个高端品牌形象,实现业绩的爆发式增长。
然而,“磨脚”门的爆发,撕开了这个商业神话的华丽外衣。当90%的专利都是外观设计,当核心发明专利寥寥无几甚至被撤回,当医学专家警告主打产品可能影响儿童足部发育,当客服轻描淡写地表示“磨脚不属于售后问题”时,消费者不得不质疑:自己支付的溢价,究竟买到了什么?
在童鞋这个关乎儿童健康成长的赛道,品质和安全应该是底线而非上限。
当“智商税”的质疑声越来越大,当消费者投诉从零星变为集体,泰兰尼斯需要思考的不仅是公关危机处理,更是商业模式的根本性调整。
毕竟,孩子的脚不会说谎,家长的钱包也越来越精明。在理性消费回归的大趋势下,仅靠广告堆砌的品牌光环,终将难以为继。
泰兰尼斯若想真正实现“世界童鞋看中国”的愿景,或许应该少一些营销噱头,多一些对产品本质的敬畏。
上一篇:2025上市助贷成绩单:头部稳、腰部冲、尾部一年亏5.6亿 2025助贷公司靠谱吗 2025年助贷成功率多少
下一篇:全国首个!四川完成市级统一法人农商行改革,最后6家一次性落地 广西地级市统一法人农商行改革 云南农商行统一法人改革最新进程