传闻发酵多日后,赵长江在微博低调官宣了其和智界的牵手。
加盟智界
1月13日,比亚迪“前少帅”赵长江官宣正式加入智界汽车。根据微博认证信息,赵长江在智界汽车的职位是执行董事及执行副总裁。记者了解到,作为智界营销一号位,其将全面负责智界品牌的整体营销工作。

作为汽车圈少帅级人物,赵长江过往履历市场并不陌生。他的汽车生涯始于比亚迪,也闪耀于比亚迪。
2009年,中南大学毕业的赵长江加入“师兄”王传福的比亚迪,从区域销售经理做起。2015年赵长江任比亚迪京津地区销售总监,两年间将当地新能源市占率提至35%+,销量增长约10倍。
凭此表现,2017年赵长江“三级跳”至比亚迪汽车销售有限公司总经理,31岁的他也成为比亚迪史上最年轻的销售一把手。
此后4年间,赵长江渠道、产品双推进。渠道端,建立并完善比亚迪销售体系,为后续新能源转型打基础;产品上,其主导完成以王朝系列车型为主的品牌升级;打造汉EV,使其成为比亚迪高端化关键落子;参与唐系列车型的市场布局,推动比亚迪向中高端SUV市场突破。
2021年10月,35岁的赵长江迎来新的挑战。
他出任腾势品牌事业部总经理兼首席共创官,接下了这个年销不足5000辆的合资品牌。彼时,这个比亚迪和奔驰合资的品牌已成立11年,前者核心输出三电技术,后者主导整车设计和销售渠道。
赵长江接手时腾势面临产品、定位、渠道、股权协同等多重问题,销量低迷、长期亏损、渠道混乱。

吴迪 摄
2022年新车腾势D9强势切入豪华MPV市场,一度成为细分市场现象级产品,终结别克GL8多年强势地位,单月销量破万。在D9助力下,腾势销量出现回暖,2022年总销量上涨一倍,逼近万辆。
产品重构(押注D9同时搭建产品矩阵)只是赵长江组合拳中的一环,他还主导品牌焕新(明确高端定位)、渠道变革(直营+经销双轨并行),一系列动作之下,腾势开始转变。
2023年腾势品牌销量突破12万辆,2024继续上升至12.6万辆,其中腾势D9累计销售10.3万辆,占比81.75%。
相较于销量提升和品牌重振,腾势生涯对于赵长江而言更重要的意义在于完成了一套从战略到执行、从产品到服务、从销售到运营的“系统化打法”的探索与验证。
2025年7月,比亚迪启动高端品牌高管轮岗,赵长江与方程豹直营事业部总经理李慧岗位对调,这场人事换防也被视为离职的导火索。
3个月后,赵长江官宣因“个人原因”从比亚迪离职。同日,市场便有传闻称其将入职智界,负责营销与渠道,彼时其对外称“先休息一下”,未确认去向。
随后传闻再度发酵。
进入2026,信号渐明。
1月9日,赵长江转发余承东为智界V9(鸿蒙智行首款MPV)预热的微博,配文称“行业里总需要一些产品来拔高想象力的天花板”,更暗示新车是“顶级MPV的终极形态”。对于网友询问智界V9竞争力,他回复“保守估计三年内没有对手”,一度冲上热搜,公开为智界新品站台,也被市场解读为入职信号。
高端MPV市场格局生变?
正式官宣后,赵长江的智界首秀便是其熟悉的MPV市场。
1月8日晚间工信部的新产品公示中,智界V9赫然在列。


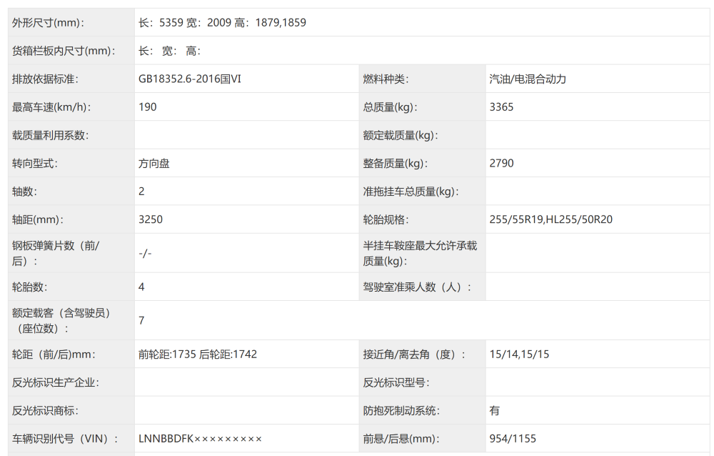
作为鸿蒙智行的首款MPV产品,V9关注度颇高,依托华为的深度技术赋能和奇瑞生产制造,新车主打智能化+大空间+豪华体验。
外观上,V9采用了鸿蒙智行车型家族式设计语言,车顶搭载了激光雷达,尾部采用了面积很大的贯穿式灯带设计;车身尺寸方面,其长宽高分别为5359/2009/1879(1859)mm,轴距3250mm,实现2+2+3七座布局。动力方面,智界V9搭载排量为1.5L的增程器,最大功率为115kW(约合156匹马力),驱动电机的信息暂未披露。电池方面,此次公示显示智界V9采用了磷酸铁锂电池与三元锂电池版本。智能化将搭载华为的最新技术,包括乾崑智驾ADS 4等。
有意思的是,由于智界V9与腾势D9属同级竞品,这也意味着赵长江的新征程首秀将直面老东家腾势。
过去三年,在赵长江的操盘下,腾势D9蝉联2023年、2024年中国MPV市场销量、保值率、用户满意度“三冠王”,即便其2025年下半年离开,但此前打下的基础依然让腾势D9继续蝉联。
面对熟悉的市场和一手打造的竞品,携全新产品而来的赵长江要如何打响这场战役以及V9的入局将如何改变高端MPV市场都备受关注。

孙婉秋 摄
当前智界正在加速发展。
作为华为鸿蒙智行和奇瑞联合打造的智能电动品牌,自2023年亮相以来,智界已推出S7和R7两款产品,前者定位中大型纯电轿车,后者则是大中型SUV,双向主打20—30万级市场。2024年智界累计销售约5.8万辆,S7和R7平分秋色。2025年销量增加9.1万辆,R7成为业绩主力。
据悉,2026年也是智界的产品大年,除即将上市的V9之外,智界还将推出2款产品。在鸿蒙智行渠道之外,全年还将新增100—200家品牌专属门店,并计划于下半年开启出海征程。