
曾创造日销茶包超80万包 、平均每秒卖9包的奇迹的茶里,如今却卷入了“欠薪2亿”的争议,一个袋泡茶赛道的“头号玩家”,何以沦落至此?
01,茶里回应“2亿欠薪”!
日前,网络上有关茶里拖欠工资的消息不胫而走“两亿欠薪”的说辞流传甚广,在一些社交媒体平台,甚至还有通过水印相机证明打卡定位到广州茶里公司(南沙总部)的维Q图文,画面中能看到手拉白字黑字横幅的场景。

1月14日,或许有感于舆情升温的压力,广州茶里有限公司(下称:茶里)发布声明称,网络上出现关于公司“两亿欠薪”的相关报道,部分信息与事实存在偏差,已对公司品牌声誉造成不良影响,也给员工、合作伙伴及消费者带来了困扰。

另外声明中还提及,公司因此前瓶装茶饮料(RTD)业务战略决策失误,于2024年终止该业务并关停相关事业部,由此引发了资金周转压力,进而出现员工薪资兑付延迟、供应商款项结算滞后等问题,也遭遇了银行抽贷、合作方挤兑等连锁反应。
茶里强调 “过去一年已完成绝大部分在职员工欠薪的兑付工作;对于离职员工的欠薪问题,目前正分批次推进解决,相关进度将定期向员工同步。当前,公司核心袋泡茶业务保持正常运营,工厂满产运转,全渠道销售及发货均未受影响,这是公司保障员工权益、偿还各类债务的基础。”
茶里还表示:针对部分与事实严重不符的虚假信息乃至恶意诋毁言论,为维护企业合法权益与正常的市场秩序,公司已委托北京市环球(深圳)律师事务所开展相关法律工作,将对造谣传谣主体依法追究责任。
然而这封声明发表之后,欠薪风波并未得到有效缓解,而且在社交媒体平台上,有更多网友甚至直接贴出了茶里的声明,更有甚者将网名改成了 “请茶里支付拖欠的工资”,直指被欠薪一年多求助无门。


据南都湾财社报道,实际在2024年11月,就有茶里员工对记者透露,茶里第一次欠薪风波发生在2023年10月,这部分工资已经支付了,第二次是2024年6月,但2024年的情况相比于2023年更严重,是全员欠薪,截至2024年11月初,有的人还没收到工资。
彼时,茶里发布声明称,网络上“大面积欠薪”“面临倒闭”等言论均为不实信息。截至声明发布之日,公司已依法完成离职与在职员工的发薪及补偿。茶里承认公司经营面临压力,正在不断调整产品策略、优化运营成本。个别部门依法进行精简或裁撤,属于企业在应对市场风险和竞争的正常经营、管理行为。
另外也确有前员工向媒体表示于2024年11月12日收到工资和赔偿金。
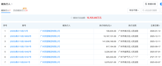
不过,此后不久,茶里就因金融借款合同纠纷、服务合同纠纷、劳动纠纷等,多次被告上法庭。天眼查显示,自2025年1月以来,茶里所属公司广州茶里有限公司作为被告的案件数量达到163次。

截至2026年1月12日,茶里作为被执行人,涉及的被执行总金额为1.59亿元,其中最大的一笔执行标的立案日期在2025年12月,涉及的执行金额为1.41亿元。同时,其作为失信被执行人,涉及的执行金额为3386.12万元。
另据企查查信息显示,截至2026年1月,“广州茶里集团有限公司”已涉及超过120宗诉讼,公司及其高管共收到21次限制消费令,14次被列为失信被执行人,需要强制执行的金额接近2亿元。
公司创始人谭琼、董事王美霞和谭谈均被列为被执行人,谭琼与王美霞的股权遭冻结,谭琼和谭谈也被限制高消费。
天眼查、企查查的交叉验证,基本能实锤茶里及公司主创团队成员遭遇的困境。
天眼查还显示,茶里多次因为在劳动争议案件中未履行生效的法律文书确定的给付义务,被法院发布限制消费令。自2025年1月以来,相关的案件共计6起,其中发生在2025年1月的一个案件,共计有59个员工向法院申请执行,目前,茶里已经解除所有的限制消费令。
“限消令”解除了,并且公司还在正常运营,那么,只要不再出现更坏的重大突发状况,理论上,茶里应是有机会妥善解决与离职员工、供应商之间的纠纷的,变数与转机并存,或许就是茶里接下来要面临的最大考验!
02,寒冬之后,即是暖春?
据茶里官网资料,广州茶里集团有限公司创立于2013年8月,旗下拥有高端快消茶品牌“CHALI”和高端新式养生茶品牌“御守茶”,主打原叶袋泡茶、瓶装即饮茶、冻干茶块、茶粉等多形态茶产品。
而早在数年之前就有媒体报道,创立仅7年的茶里CHALI就是佼佼者,凭借着高颜值、高品质的产品,依靠年轻化的营销,成功撬动了年轻消费群体的心,至今,它已拥有超千万粉丝,日销茶包超80万包,平均每秒售出9包。
值得一提的是,茶里先后与2020、2021年就斩获过亿元级别的融资,截至2024年5月,共完成9轮融资,足见其在资本市场的受欢迎程度,尤其2021年更创下线上销售额破亿的纪录,彼时有报道称其销量已超过立顿,“中国版立顿”因此得名。

这样一个头部网红品牌,如今的境遇委实令人感慨,结合茶里自己的描述,核心或还是因为战略失误——即重押瓶装茶饮料业务,导致资金链崩盘 !
据公开报道,2023年初开建自己的瓶装茶工厂,引进高速生产线,投入巨大的同时,还于同年签下顶流偶像肖战代言,在社交媒体上进行了铺天盖地的广告攻势。
本以为会赚得盆满钵满,但理想丰满,现实骨感,瓶装茶赛道,早已经巨头林立,难容得下没有明显竞争优势的新闯入者了,来自智研咨询的数据显示,2025年第三季度,线下零售渠道即饮品牌TOP 4依次为农夫山泉、康师傅、统一、维他,市场占有率分别为38.55%、6.06%、5.84%、1.50%。
目前,在京东和天猫等头部电商平台,茶里的产品依旧正常销售,笔者刚刚在京东检索的结显示,Chali京东自营旗舰店,仅青提乌龙茶全网就已热销50万+。
于茶里而言,如果能甩掉/优化线下工厂等重资产包祔,然后线下门店该收缩收缩,聚焦线上茶包销售,会否能迎来转机?
拭目以待!
参考资料:
茶里回应“两亿欠薪”-每日经济新闻
一杯5分钟的「茶里」,找到不倦的答案-数英DIGITALING
日销茶包超80万包、平均每秒卖9包,茶里CHALI的爆款秘诀是什么?-有赞说
否认欠薪两亿!茶里:布局瓶装茶战略失误,有资金周转压力-南方都市报
欠薪近2亿、创始人成老赖,茶里陷入经营危机-易简财经